来源:公众号“科研圈”
1919 年 5 月 29 日,在非洲西海岸的普林西比岛(Principe),英国天文学家亚瑟·爱丁顿(Arthur Eddington,1882-1944)对一场为时五分钟的日食进行了观测,拍下了人类历史上最重要的一张日食照片。半年的数据分析之后,他们在伦敦召开了新闻发布会,马上成了全世界的头条:爱因斯坦(Albert Einstein,1879-1955)的相对论取得胜利。
相对论是人类历史上最成功的引力理论,诞生一百多年来,它作出的预测从未失败。更重要的是,它颠覆了人们长期以来的信念,即空间与时间的客观存在,进而对哲学乃至大众文化产生了影响。

爱丁顿拍摄的日食照片之一,后来出现在 1920 年发表的论文中。图片来源:Wikipedia
撰文 戚译引
光有速度吗?
相对论的故事得从光速说起,在它诞生之前,物理学界关于光的讨论已经持续了三百年。
在爱因斯坦的理论中,真空中的光速是宇宙中最快的速度,如今我们知道这个速度大约是每秒 30 万公里。不过,或许是因为日常生活中很难感觉到光速的存在,在过去,人们通常假设光速是无限的。
在 17 世纪,伽利略(Galileo Galilei,1564-1642)最先尝试测量光速。他让两个观察者各持一盏灯,A 先把灯点亮,B 看到后也点亮自己的灯,然后计算 A 从点灯到看到 B 的灯光的时间差。受限于当时的实验条件,他没有成功——哪怕让两人相距一英里(约 1.6 千米),测量结果也和他们靠在一起的时候差不多。
17 世纪末,科学家们再次尝试测量光速,这一次靠的是木卫食,即在地球上观测时,木星将它的卫星遮住的现象。丹麦天文学家奥勒·罗默(Ole Romer,1644-1710)发现,当地球离木星距离不同的时候,木卫食出现的周期不一样,距离较远的时候木卫食出现得更晚一点,大约相差 10 分钟,这说明此时木卫反射的光要花更长的时间才能到达地球。罗默认为这个现象证明光速是有限的。

测量光速示意图。当地球从 L 点转到 K 点的时候,第一个木卫食出现的时间比根据运算周期计算得到的时间要晚几分钟,罗默认为这就是光在经过 LK 的时候多花的时间。反之,当地球从 F 点转到 G 点的时候,木卫食出现的时间就比计算结果要早。图片来源:罗默于 1676 年发表的论文,Wikipedia
正如一切新理论一样,这个结论并没有被立刻接受。到 1728 年,哥本哈根发生了当地历史上最大的火灾,罗默的许多观测资料毁于一旦。
而大火发生前一个月,在北海的彼岸,英国天文学家詹姆斯·布拉德雷(James Bradley,1693-1762)对光速进行了更加精确的测算。布拉德雷进而估计太阳光到达地球的时间为 8 分 13 秒,与现代的观测结果只有几秒钟的差异。
水波还是颗粒?
光速的测定回答了一个问题,却引出了更多的问题:光是如何传播的?在不同的介质里,光速会发生怎样的变化?
同样在 17 世纪,物理学家们对光的本质展开了研究。荷兰物理学家克里斯蒂安·惠更斯(Christiaan Huygens,1629-1695)认为光是一种波 ,在“以太”中像水波一样传播。像同时代的科学家一样,他认为以太是一种充斥所有空间的流体,地球能够围绕太阳转动正是因为太阳带动了以太的漩涡。
波动说能够解释光的反射和折射,却无法很好地解释为什么光沿直线传播。这时候,艾萨克·牛顿(Issac Newton,1623-1727)提出了一种截然不同的理论。为了解释棱镜实验的结果,牛顿指出,光应当是一种微粒,光通过棱镜的时候就像网球被斜拍打出去的时候一样,划出一道曲线。(今天我们更熟悉的现象是足球赛里的“香蕉球”。)
这两种学说在解释光速变化的时候发生了分歧:波动说认为光在折射率更大的介质中速度较小,而微粒说的推论结果恰好相反。到 19 世纪中叶,科学家才通过实验测定了不同介质中的光速,最终*翻推**了微粒说。
最著名的“失败”实验
但是波动说还没有完全取得胜利。在那个年代,波动说的解释依赖以太的存在,可是以太又是什么样子?
19 世纪的物理学家并不怀疑以太的存在,只是在解释它的性质方面遇到了重重困难。比如,偏振现象表明光存在相对于传播方向的横向振动,这说明以太是一种弹性固体,因为在空气这样的弹性流体中不会发生这样的现象。但是,如果以太是一种固体,那么行星又怎么能穿过它呢?
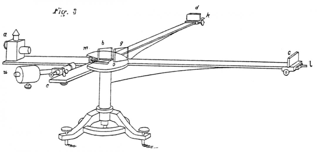
为了检验以太的性质,1887 年,在美国的克利夫兰进行了著名的迈克尔逊-莫雷实验,由阿尔伯特·迈克尔逊(Albert Michelson,1852-1931)和爱德华·莫雷(Edward Morley,1838-1923)设计。实验的原理很简单:如果地球在以太中运动,那么当光线顺着以太运动时,它的速度应当比逆行的时候要快,就像顺着水流潜水要更轻松一样。
为了保证实验装置处在水平、稳定的位置,迈克尔逊和莫雷将它安放在一块漂浮在水银中的大理石板上。他们让一束光从光源(a)出发,经过一面与光传播方向成 45 度角的半透明分光镜(b),镜片让一部分光直接通过,另一部分光被反射,分别到达两面镜子(c、d)。如果光束到达两面镜子并返回的时间不同,就会出现相位差,最终在中间形成干涉条纹。并且随着仪器转动,光的路径与以太流动方向的相对位置发生变化,那么干涉条纹应当会发生移动。

迈克尔逊-莫雷实验原理图。图片来源:Wikipedia
但是,尽管多次重复实验,迈克尔逊和莫雷并没有发现干涉条纹的明显移动。在当时的实验物理学家们看来,实验结果证明了以太与地球相对静止,这令他们感到十分困惑。
到迈入 20 世纪之时,绝对温标的发明者开尔文说:“两朵乌云……遮蔽了把光和热断定为运动形式的动力学理论的美丽和明晰。”其中一朵乌云指黑体辐射,另一朵就是还未找到理想解释的迈克尔逊-莫雷干涉实验。
拨云见日
1895 年,荷兰物理学家亨德里克·洛伦兹(Hendrik Lorentz,1853-1928)结合当时的电磁学研究成果,作出了大胆的假设:如果物体本质上是靠电磁力结合在一起的,那么当物体在有电磁性的以太当中运动时,就可能沿着它运动方向缩短。经过复杂的计算,洛伦兹提出了洛伦兹变换,用于解释不同参考系中运动的换算关系。

1921 年,爱因斯坦与洛伦兹。图片来源:Wikipedia
洛伦兹已经很接近狭义相对论,只是他还没有放弃以太。其他实验物理学家也没有放弃,他们试图用更灵敏的仪器重复实验,或者到海拔更高的地方重复实验。
为什么那个年代的物理学家们会固执地相信这样一种不可捉摸的物质的存在?今天的我们或许对此感到难以理解,但是在 20 世纪,否认以太可以说意味着否认物质与时间的永恒。以太的存在隐含了一个假设,那就是存在绝对客观、亘古不变的空间参考系。从哲学的角度上看,物质占据固定的空间,时间以固定的步调流逝,这是人类心目中对世界的固有认识。
而爱因斯坦首先意识到,绝对空间与绝对时间的概念是想象中的虚构,它受限于人类的经验。实际上,对统一系统的观测结果取决于观察者的位置,处在同一系统中的观察者和处在另一个系统中的观察者看到的是不一样的。也就是说,时间和空间不是绝对的,而是与观察者相对的。
至于那个看不见、摸不着的以太,只需要承认空间具有传播电磁波的能力,就可以抛弃对以太的依赖。爱因斯坦及合作者后来在书中写道:
“我们想使以太成为实在的东西的一切努力都失败了。它既不显示它的力学结构,又不显示绝对运动。除了发明以太时所赋予它的一种性质,即传播电磁波的能力以外,其他任何性质都没有了。我们力图发现以太的性质,但一切努力都引起了困难和矛盾。经过这么多的失败之后,现在应该是完全丢开以太的时候,以后再也不要提起它的名字了。”
——《物理学的进化》
在洛伦兹变换的基础上,爱因斯坦于 1905 年提出了狭义相对论,进而在 1915 年提出了广义相对论。
伟大的五分钟
如何验证相对论是否正确?在许多方面,相对论的推论与牛顿力学大致相同,只有在宇宙的尺度,两者才会产生分歧。有几个关键的现象可以成为检验这一新理论的试金石,其中之一就是日食。
按照爱因斯坦的理论,当光线通过引力场的时候,路线会发生弯折。当发生日食的时候,太阳附近的恒星将不再被太阳的光芒掩盖,并且由于太阳引力的作用,恒星发出的光线在到达地球之前发生了弯折,因此我们看到的恒星的位置将偏离它们的实际位置,具体而言,位移值是 1.74 角秒。
早在相对论全部完善之前几年,爱因斯坦就提出了这样的预言,但是在战争年代策划一场日食观测何其困难。德国和美国的天文学家至少三次尝试进行观测,但总是因为天气原因而无法拍摄。最倒霉的是 1914 年 8 月那一次,埃尔温·芬莱-弗罗因德里希(Erwin Finlay-Freundlich,1885-1964)和威廉·华莱士·坎贝尔(William Wallace Campbell,1862-1938)去往俄国准备拍摄,这时候德国对俄国宣战了。于是日食还没开始,俄国就逮捕了来自德国的弗罗因德里希,要求交换被俘虏的士兵。
坎贝尔是美国人,得以留下拍摄,却碰上了阴天。日食结束后,他迅速撤离了俄国,连带来的珍贵仪器都没有运走。

坎贝尔当时担任里克天文台台长,他差一点就能证实相对论。图片来源:Wikipedia
在英国,爱因斯坦的论文经荷兰偷运过来,到达当时的英国皇家天文学会秘书长爱丁顿的手上。爱丁顿对此很感兴趣,他设法克服当时国内激烈的反德情绪,将爱因斯坦的工作介绍给同行,并着手准备这次日食观测。
此时一战已经接近尾声,局势十分紧张。爱丁顿信奉贵格教,反对战争,一再申请免服兵役,差点因此被送进监狱。他的同事兼好友弗兰克·戴森(Frank Dyson,1868-1939)也出面为他求情,试图用国家荣誉说服军方。
爱丁顿可以说相当走运,他在最后关头被免除兵役。 接下来,在 1918 年 11 月 11 日,一战结束了。爱丁顿与同事们立即准备前往普林西比岛,等待那次持续 5 分钟的的日食观测。为了确保万无一失,他还将另一队人马派往巴西的索布拉尔(Sboral),拍摄备用照片。
这次拍摄很顺利。到 1919 年 11 月,爱丁顿团队在伦敦召开新闻发布会。远在德国的爱因斯坦躺在病床上,通过荷兰的转播得知了这一消息。

一战结束多年后,爱因斯坦和爱丁顿才首次会面。图片来源:SCIENCE PHOTO LIBRARY
寻找引力波
这次日食观测两年后,爱因斯坦被授予诺贝尔物理学奖,却不是因为相对论,而是表彰他“对理论物理的贡献,尤其是对光电效应的理论解释”。这个奖发得有些尴尬:此时爱因斯坦早已声名鹊起,提名的呼声很高;但广义相对论仍然没有完全被证实,只好另外找个由头给他颁奖。
除了日食之外,广义相对论还预言了引力红移和引力波的性质。引力红移指光的波长随引力场增强而增加,向红端移动的现象,因此同一种元素在恒星上产生的光谱线要比在地球上产生的光谱线更“红”,这一现象直到 1925 年才被观测证实。
至于引力波,爱因斯坦一度怀疑它是否存在。在他去世六十年之后, 引力波才被人类首次捕获,观测结果于 2016 年得到证实。如今,美国激光干涉引力波天文台(LIGO)和意大利的 Virgo 天文台仍然在仰望着夜空。它们已经捕捉到双黑洞并合或双中子星并合产生的引力波,最新的一些观测数据还没有完成分析,天文学家认为那可能是黑洞吞噬中子星产生的信号。如果这个猜想最终被证实,那么它将成为相对论带给我们的又一个惊喜。

在大众文化中,爱因斯坦的形象已经成为科学的象征。图片来源:Wikipedia
参考来源:
1. 《物理学史》,[美]弗·卡约里著,戴念祖 译,中国人民大学出版社
2. 《科学史》,[英] W.C.丹皮尔著,李珩 译,中国人民大学出版社
3. 1914-1919,有关相对论的天文远征,科学松鼠会,https://songshuhui.net/archives/22119
4. https://en.wikipedia.org/wiki/Arthur_Eddington
5. 爱因斯坦的奇葩诺贝尔奖,施郁,科学网,http://blog.sciencenet.cn/blog-4395-1079640.html
6. Gravitational waves hint at detection of black hole eating star, 26 APRIL 2019, Nature 569, 15-16 (2019), doi: 10.1038/d41586-019-01377-2
7. The man who made Einstein world-famous, Matthew Stanley, BBC, https://www.bbc.com/news/science-environment-48369980
本文来自微信 公众号“科研圈”。如需转载,请在“科研圈”后台回复“转载”,或通过公众号菜单与我们取得联系。
来源:科研圈
编辑:AI
10. 你知道为了测博尔特的速度,我们有多努力嘛?