
今日热点:“Oculus Quest 2已成功越狱”被爆料是*局骗**;GameStop将其500家门店变为AR游戏《精灵宝可梦Go》的虚拟目的地;VR游戏《Beat Saber》防弹少年团音乐包正式发布;《半衰期:爱莉克斯》增加开发者评*功论**能等。
行 业

“Oculus Quest 2已成功越狱”被爆料是*局骗**
早前一个名为XRSI的小组曾宣布已经“成功越狱”Quest 2,获取了设备的根访问权限。这一事件引起了社区的关注,并且令大家感到非常激动。因为获取根访问权限将意味着你可以绕开Facebook的服务和管制。但现在根据Reddit社区的一位匿名人士爆料,这一所谓的“越狱成功”根本就是*局骗**。
Oculus全新VRCs指南可帮助开发者构建Quest/Rift S兼容性内容
Oculus推出了一个名为Virtual Reality Checks(VRCs)的全新开发指南,旨在向开发者提供技术建议,并帮助他们构建兼容Oculus Quest/Rift S的VR内容。

微软更新Windows MR系统,提高头显视觉保真度
在与惠普和Valve合作开发Reverb G2的过程中,微软对Windows Mixed Reality平台进行了一定的优化。除了Reverb G2之外,所述改进适用于WMR平台的现有头显,并已支持最新的Windows10版本。日前,微软撰文介绍了所述的视觉质量优化。
PTC的Vuforia AR企业套件将即将上线Magic Leap One
Magic Leap宣布将扩大与工业和制造业数字解决方案供应商PTC之间的合作,以在Magic Leap平台上提供PTC的Vuforia AR企业套件。

GameStop将其500家门店变为AR游戏《精灵宝可梦Go》的虚拟目的地
电子游戏零售商GameStop宣布与游戏开发商Niantic达成合作,准备将其商店转变为AR应用程序《精灵宝可梦Go》中的虚拟目的地。
AR应用可让虚拟人在你家中表演欢快版贝多芬经典作品
据外媒New Atlas报道,AR技术已经可以让人们在购买前将家具摆放在房间里,将照片拍得栩栩如生,并在街头进行游戏。现在,AR技术可以让一个栩栩如生的虚拟人物在人们的前厅表演一首欢快版的贝多芬经典作品。The Piano Guys与AR/VR开发商Massive Technologies合作,让乐队的Jon Schmidt“坐在”人们家里的钢琴前或虚拟的钢琴前。
产 品

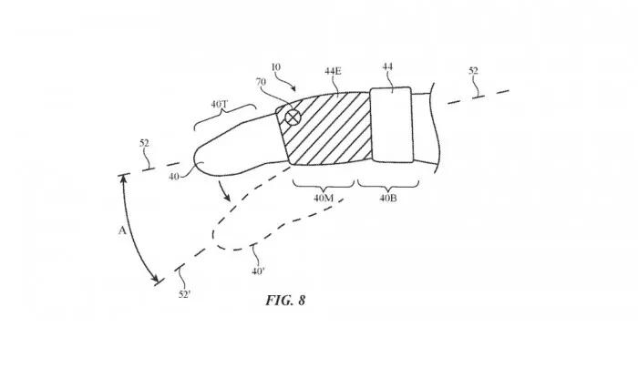
新专利显示:苹果智能戒指将成苹果眼镜/VR头显的配件
苹果正在继续研究一款智能戒指设备,该设备可以成为苹果眼镜、苹果VR头显等设备的配件或与之配合使用。苹果公司已经申请了许多与手指佩戴设备相关的专利。周四公布的一项新专利申请延续了之前在 "可扩展环形设备 "方面的工作。
游 戏

VR游戏《Beat Saber》防弹少年团音乐包正式发布
Oculus在Facebook Connect大会上宣布与防弹少年团(BTS)及其Q版卡通形象TinyTAN达成合作,将推出全新的“BTS Music Pack”音乐包,让粉丝感受这个男团的12首歌曲及其动感十足的炫酷舞步。现在,这个新的音乐包已正式上线。
VR大作《半衰期:爱莉克斯》发布更新,增加开发者评*功论**能
Valve在近日宣布,VR大作《半衰期:爱莉克斯》已推送更新,本次更新内容包括Valve开发者评论和一些新功能。

PSVR射击游戏《防火墙:绝命时刻》已针对PS5进行优化
《防火墙:绝命时刻》开发商First Contact Entertainment在推特上确认,已经针对PS5优化了这款PSVR射击游戏的游戏性能。
VR手部追踪射击游戏《Finger Gun VR》开启众筹
Miru在Kickstarter上为VR手势游戏《Finger Gun VR》发起众筹,这是一款号称首个为手势识别设计的VR射击游戏,特点是全程手势操作,你只需要做出手枪姿势即可将虚拟手切换成枪,直接攻击敌人。