在电影中,钢铁侠的装备赋予了普通肉身人Tony Stark上天入地、无坚不摧的超能力。科幻源于人类的梦想和创造力,打造钢铁战衣的科幻技术很多在现实生活中都能找到对应的实验原型和产品。难处在于现实中的技术还无法做到象电影中那样完美集成,无法小型化、精密化,也无法象电影中展现的那样运用自如、随心所欲。

除了 @德高@刘义 提到一些技术点外,我想补充下现实中能运用到钢铁侠制造的一些技术点及其发展历史:
1)3D全息交互(3D Holographic Interaction )
Tony Stark通过虚拟3D全息显示设备来设计战衣,这套设备投射的虚拟物体能够自由旋转和放大,仿佛真实物体一样可以操控。类似的概念在《星球大战》、《阿凡达》等电影中也屡见不鲜。

而在现实中,这项技术也在逐渐成形。早在2002年,MIT研究生Chad Dyne就发明了空气投影交互技术Helios Display,运用电子和热动力原理在空气中形成虚拟3D全息图像,并借助激光跟踪技术来与虚拟图像产生交互。
目前,Chad Dyne创立的IO2和芬兰的FogScreen是市场上主要气体投影设备的商用厂家。
2005年,IO2公司公开展示了世界上第一台3D空间投影系统,可以投射出22-42英寸的虚拟物体。如同钢铁侠一样,操作者可以不借助任何外界物体,就能直接对空气中的虚拟投射物体进行操作。

2005年芬兰创业公司FogScreen也利用类似原理推出自己的穿越式干雾屏幕。

此外,俄罗斯技术公司Displair利用加湿气流构造出一块支持多点触控的虚拟屏幕。Displair 的色彩校订技术可以让成像同背景保持较高的对比度,看起来更清晰,另外利用空气动力学原理生成的“气流外套”可以让空气屏不受外界气流的扰动,保持图像稳定。交互效果的实现应该是依靠类似 Kinect 的手势识别技术。

2014年,英国Bristol大学的研究组研制出基于平板桌面和气雾投影的交互设备Mistable,用户可以在2D平板桌面和3D虚拟空间里对虚拟物体的操控进行转换。

2) 3D打印 (3D Printing)
电影中Tony Stark打造钢铁机甲的设备实际上就是现在热门的3D打印机。

事实上,特效公司Legacy Effects在《钢铁侠2》的制作过程中就运用到3D打印技术。工程师们先通过CAD程序进行服装设计,并扫描演员的身体以得到精准的身体尺寸数据,再运用3D打印机为小罗伯特·唐尼制作了钢铁侠衣服的整体部分,局部的零件以及手套。




随着3D打印技术的成熟,普通大众也可以像Stark那样打造属于自己的机甲。国内就有位Geek大侠——王康,从2008年起就开始了自己的钢铁侠盔甲计划。继而曾在网上发起众筹项目The Iron Man Mark III,利用3D打印技术打造量产版的钢铁侠头盔。







3)机甲系统(Mech)/ 外骨骼系统(Exoskeleton)
在众多科幻电影中经常出现机甲系统,威力强大而且灵活自如。

黑客帝国

阿凡达

环太平洋
真正的机甲是这样的:

真正的机甲是这样的:

或是这样的:

机甲在学术上一般称之为“外骨骼系统”或“机械外骨骼”。
所谓“外骨骼”,最初概念来源于生物学,是指为生物提供保护和支持的坚硬的外部结构,比如昆虫身上能够起到帮助行动以及保护身体不受伤害作用的外骨骼。人类受此启发便开始了机械外骨骼技术的仿生研究。通过能源装置提供外动力,机械传动系统及控制测试系统,保证人体各种动作于机械之间的协调性。外骨骼系统将机械和人体实现完美的融合,从而帮助人体完成各种动作和提升效率。
外骨骼系统的概念,可以追溯到Robert Seymour在1830年提出的Walking by Steam蒸汽动力行走辅助装置。

1961年,Cornell Aeronautical Labs开始研发真正意义上的外骨骼系统Man-Amplifier。


;

1966年美国军方和GE联合研制的Hardiman,被公认为是最早的人体外骨骼助力系统。通过这套系统,普通人能轻易地举起150公斤的重物。但这个系统并不实用,自身超过680公斤。



2000年,美国国防部高级研究计划署(DARPA)投资数千万美元,开始为期7年的机械外骨骼研究计划(Exoskeletons for Human Performance Augmentation,EHPA)。
2002年,第一件具有划时代意义的机械外骨骼衣(XOS)由美国的Sarcos/Raytheon生产。XOS重达68公斤,能够让穿戴者轻松举起90公斤的重物。2010年雷神公司又推出更为轻便和完善的第二代产品XOS2,相比第一代更为结实和灵活,同时还降低了动力的损耗。穿戴者可以完成上千次俯卧撑却若无其事,轻而易举地举起重达200磅的物体,单手劈开厚达3英寸的木板。


在《钢铁侠2》中饰演神盾局特工的克拉克.格雷格观看SarcosXOS2*用军**外骨骼套装

2005年,UC Berkeley机器人和人体工程实验室三名学者创立了Berkeley Bionics。同年发布ExoHiker系列,提高长途承重至150磅/70公斤,2007年承重升级至200磅/90公斤。

2009年Berkeley Bionics发布了液压传动的人类外骨骼负重系统(HULC/Human Universal Load Carrier),承重力200磅/90公斤(包括*器武**、*药弹**、电子设备、防弹衣等),能够大幅提高单兵作战能力。同年Berkeley Bionics将HULC技术独家授权给Lockheed Martin公司。

雷神的主要竞争者Ekso Bionics / Lockheed Martin公司研制的HULC (Human Universal Load Carrier) 自重24公斤,穿戴者可额外负荷91公斤。
2012年底海豹六队在阿富汗东部解救一名美国医生人质时,一名特种兵遭遇枪杀。此事件直接导致了美军特种作战司令部(USSOCOM)于2013年启动新的外骨骼研究计划——战术突袭轻甲项目(Tactical Assault Light Operator Suit, TALOS)。TALOS项目由56家公司、18个政府机构、13个大学和10个国家实验室共同参与,其中包括包括特效模型生产商Legacy Effects、小型科技公司以及雷神(Sarcos / Raytheon)、洛克希德·马丁(Ekso / Lockheed Martin)和通用动力(General Dynamics)等国防军工企业。TALOS计划于2018年产品上市,目前累计耗资已经超过$10m。

TALOS项目的研究目标已经接近电影钢铁侠中的设定场景:不仅具备防弹、助力、夜视、增强现实的能力,还能监测生命体征、自动喷药等。
此外,其他国家也在开展*用军**外骨骼系统的研究。

中国国产单兵外骨骼系统

随着外骨髓技术在军事上的研究进展,同一时期的日本以及其他国家也开始了面向民用的研发。2001-2005年,全球数家大学开始研发下肢助残机器人外骨骼,比较著名的医用外骨骼项目包括剥离自日本筑波大学的HAL、剥离自UC Berkeley的Ekso Bionics、以色列公司ReWalk、新西兰公司Rex Bionics以及运动控制技术公司Parker Hannifin旗下的Indego Exoskeleton。
筑波大学的Center for Cybernics Research是日本顶尖智能机器人研究中心,由日本筑波大学教授山海嘉之(Yoshiyuki Sankai)于1991年创立。

酷哥一枚的山海
1995年,第一台HAL(Hybrid Assistive Limb,混合助力肢体)样机诞生。HAL-5没有采用传统的液压式传动系统,而是将感应器附着到使用者上,实现微小肌肉信号的检测,从而使机械能够学习使用者的自然姿态。2004年,在日本政府资助下,Sankai教授创立了Cyberdyne公司,旗舰产品HAL于2005年首次亮相于爱知世博会,是目前日本最著名的机器人外骨骼。2008年HAL正式发布,2013年成为全球首个获得安全认证的机器人外骨骼产品(ISO/DIS 13482)。

神奈川工科大学山本圭治郎(Keijiro Yamamoto)领导研发的外骨骼设备Wearable Power Assist Suit,基于气泵增强技术。

2003年研发的第一代Stand Alone Suit

2005年研发的第二代Stand Alone Suit

2012年最新一代Power-Assist Suit
在HULC基础上,Ekso公司于2010年推出了其民用版产品,针对截瘫患者的下肢步态修复外骨骼系统eLEGS(Exoskeleton Lower Extremity Gait System)。该系统利用专用拐杖进行动作控制,需要理疗医生监督。2011年公司改名为Ekso Bionics,eLEGS也更名为Ekso。2012年初,第一代Ekso获得FDA批准并取得CE标识,开始进入全美主要康复中心,为脊髓损伤(SCI)患者提供步态康复训练。

新西兰公司Rex Bionics在2010年发明了全球首对仿生机械腿“REX”,安装在下身瘫痪者的腿上,能支撑身体,帮助他们重新站起来。借助它,使用者可以轻松地站立、行走,甚至上下楼梯。这种装置重量为38公斤,由一个轻便充电池提供动力,充电一次可全天使用。

仿生机械腿 REX
以色列公司Rewalk Robotics成立于2001年,创始人Amit Goffer就是一个四肢瘫痪的残疾人。Rewalk的核心技术在于其独特的倾斜传感技术,通过电脑和运动传感器,ReWalk能够通过检测重心位置的细微变化控制运动,模仿自然步伐,为用户提供适合的行走速度,使得四肢瘫痪者也能够独立行走。 ReWalk于2011年发布的康复训练外骨骼(ReWalk R/Rehabilitation),是最早进入欧洲市场的机器人外骨骼产品。其后,个人用机器人外骨骼(ReWalk P/Personal)定制系统先后于2012年底和2014年中获得CE标识和FDA批准,并成为第一款通过FDA认证的个人使用外骨骼系统,也是在欧洲市场最早获得保险覆盖的个人用机器人外骨骼产品。

以色列总理内塔尼亚胡(左)和美国总统奥巴马看以色列受伤瘫痪老兵借助ReWalk系统行走

ReWalk - Walk again- Argo's Exoskeleton
【参考】
外骨骼_百度百科
机械外骨骼_百度百科
Top 5 DARPA Technology Projects of 2010
美军致力打造“钢铁侠”盔甲 未来战场可能出现“机甲大战”
U.S. Military's 'Iron Man' Suit Prototype Debuts This Month
GT周: 机甲的野望——写在ReWalk上市前
4) 头盔显示系统(Head-Mounted Display or Helmet-Mounted Display,HMD)/ 穿戴式设备(Wearables)/ 虚拟现实(Virtual Reality)/ 增强现实(Augmented Reality, AR)
电影中钢铁侠的头盔实际上是一个具备人工智能和增强现实功能的智能头盔。如果说机甲战衣塑造了钢铁侠的身躯,那么头盔则是整套系统的灵魂和控制中枢。

头盔显示系统(HMD)最早可以追溯到Philco公司1961年研制的Headsight,包括一个显示器和一套摄像追踪系统。同一时期Bell实验室也开发了一套基于红外摄像技术的HMD —— Helicopter。
头盔/头戴显示系统属于穿戴式设备的一个分类,其发展历史基本上与虚拟现实技术的研究交织在一起,并且不断融合。因此,这部分的介绍将围绕头盔/头戴显示系统、虚拟现实及增强现实等几个相互关联的技术展开。
1965年美国计算机科学家Ivan Sutherland发表的论文《The Ultimate Display》提出了虚拟现实(Virtual Reality)的构想。Sutherland提出利用HMD构建一个逼真的3D虚拟世界,用户可以直接操作和感知虚拟物体。这篇文章被认为是虚拟现实技术的开端,Sutherland本人也因此被尊称为“虚拟现实之父”。
1968年Sutherland主持设计和开发了第一个计算机图形驱动的头盔显示器HMD和头部运动跟踪系统。当用户的头部运动时,显示器的显示画面随之改变,以匹配用户视角的变化。


Sutherland研制的HMD系统
HMD的研究成果首先运用在军事领域。1960年代,美国海军首先在F-4战机上试验头盔瞄准系统Visual Target Acquisition System(VTAS)。80年代,美国陆军在阿帕奇战机上部署了更为成熟的头盔系统——Integrated Helmet and Display Sight System(HADSS)。现代美军采用的头盔显示系统称为Joint Helmet Mounted Cueing System(JHMCS)。


1982年,美国军方研究人员Thomas Furness开发了带有6个自由度跟踪定位的高清头盔显示器——Visually Coupled Airborne Systems Simulator(VCASS),第一次实现完全沉浸式的3D虚拟视觉,把用户与真实环境完全隔离开。
1984年,NASA Ames研究中心虚拟行星探测实验室的研究人员M.McGreevy 和J.Humphries策划开发了用于火星探测的虚拟环境视觉显示器,将火星探测器发回的数据输入计算机,为地面研究人员构造了火星表面的三维虚拟环境。

NASA BOOM虚拟太空模拟器
1986年,NASA Ames研究中心的Scott Fisher, James Humphries, Michael McGreevy, Warren Robinett合作发表了论文《Virtual Environment Display System》,系统阐述了HMD虚拟交互系统VIVED的体系架构和相关技术。VIVED根据用户的位置、动作和声音控制来构建3D显示界面。从技术上看,VIVED已经非常接近于现代的头盔式虚拟现实产品。


NASA VIVED包含了3D显示、手势交互和语音控制等技术
在与NASA合作的过程中,Jaron Lanier和Thomas Zimmerman等人创办了VPL公司,开创了虚拟现实技术从*用军**转向民用的新时代。1985年,VPL开发了光学屈曲传感手套Data Glove,能够追踪人手的动作和位置变化。1988年,VPL公司又推出了市场上第一款民用虚拟现实产品EyePhone。

1989年,VPL公司创始人Jaron Lanier正式提出了“Virtual Reality(虚拟现实)”一词,意指“计算机产生的三维交互环境,在使用中用户是“投入”到这个环境中去的”。Lanier明确指出研究虚拟现实技术的目的是为了提供一种比传统计算机模拟更好的方法。

就是这位象朋克摇滚的老兄发明了虚拟现实一词。
1986年,Jesse Eichenlaub提出了裸视3D成像技术的概念,并由其创办的公司Dimension Technologies Inc (DTI)率先推出商用的3D专业显示器。DTI将LCD的像素矩阵分成奇数列和偶数列,奇数列上只显示左眼可以看到的图像,偶数列则显示专门针对右眼的图像,人脑根据这两幅图像的微小差异来获得三维视觉感受。2000年,DTI发布首款针对民用市场的“平价”3D显示器——2015XLS。在当时,这款产品的推出引起相当的轰动,它可以让三维空间真实浮现在眼前,屏幕上显示的三维物体甚至会给人以浮现在屏幕之外的感觉,甚至会让人觉得触手可及。有幸体验过该款产品的用户都说,“迎面开来的汽车好像冲到了自己的鼻子前”。

DTI 2015XLS 15" 3D LCD Display

Eichenlaub(站立者)在2001年的Stereoscopic Displays and Application XII学术会议上展示DTI的3D显示器。
90年代中后期尤其是在2000年以后,民用头戴式VR设备和产品开始广泛出现。
1995年,任天堂公司发布了首个便携式头戴3D显示器Virtual Boy,并配备游戏手柄。

索尼也是家用头戴显示器的先驱者之一。早在2011年11月便推出了第一代产品T1,配置了两片0.7英寸OLED有机发光显示屏分别对应双眼,分辨率均为1280x720,配合透镜组调整视差以及画面填充率,在获得高达45度角视野的同时,能产生近似“20m远处看750英寸的屏幕”的感觉。
2012年9月索尼发布了改良机型T2。

2012年9月索尼发布了改良机型T2。
2013年索尼发布了第三代HMD——HMZ-T3/T3W。

2013年索尼发布了第三代HMD——HMZ-T3/T3W。
;2014年3月,索尼在GDC大会上展示了研发的虚拟现实头盔Project Morpheus。Project Morpheus不仅可透过内置的多种传感器来判断玩家的头部位置,若是搭配PlayStation Camera使用,甚至还能够让PS Move体感控制器变身成游戏中的刀剑、枪械等*器武**,让玩家能更直觉的体验第一人称游戏的真实感。

2014年3月,索尼在GDC大会上展示了研发的虚拟现实头盔Project Morpheus。Project Morpheus不仅可透过内置的多种传感器来判断玩家的头部位置,若是搭配PlayStation Camera使用,甚至还能够让PS Move体感控制器变身成游戏中的刀剑、枪械等*器武**,让玩家能更直觉的体验第一人称游戏的真实感。


SONY Morpheus
Facebook在2014年3月以20亿美元收购的Oculus无疑是目前市场上最引人关注的虚拟现实厂商之一。2012年Oculus首先在众筹网站发布Oculus Rift项目,吸引了243万美元的募资。稍后又完成了一系列风投,包括安德森-霍洛维茨基金领投的7500万美元融资。一时间风头无两,连FPS游戏教父John Carmack和开发出经典游戏《半条命》和《反恐精英》的Valve公司工程主管 Atman Binstock 也加入到Oculus。
;Oculus Rift被称为是“可能改变人类未来的游戏方式”。与任天堂、索尼等头戴式显示器不同的地方在于,Oculus内建头部动作追踪,结合3轴陀螺仪、加速感应器和地磁感应器,可以推算出头部动作和面对的方向,实时改变显示的内容,创造出完全沉浸式的3D虚拟现实体验。

Oculus Rift被称为是“可能改变人类未来的游戏方式”。与任天堂、索尼等头戴式显示器不同的地方在于,Oculus内建头部动作追踪,结合3轴陀螺仪、加速感应器和地磁感应器,可以推算出头部动作和面对的方向,实时改变显示的内容,创造出完全沉浸式的3D虚拟现实体验。


在虚拟现实的基础上,计算机科学家又提出了增强现实(Augmented Reality,AR)的概念。与VR构造的完全虚拟环境不同,AR强调虚拟与现实世界的结合与交互,虚拟信息作为真实世界的一种补充和增强。

电影中钢铁侠的头盔实时显示真实世界的相关数据和信息
1990年,波音公司研究员Tom Caudell首先提出了“Augmented Reality”一词。Caudell开发了一套设备用于飞机的管线装配过程,通过头戴显示器把飞机关键布线的虚拟画面叠加到真实的飞机机体上。



1993年,J.Loomis, R.Golledge & R.Klatzky首次开发出户外导航设备原型,利用GPS和电子罗盘来定位用户地理位置,并能够提供语音提示。
1993年,多伦多大学的G.Fitzmaurice 开发出Chameleon系统,可以在手持设备上显示用户所处空间位置的相关信息。


手持设备的屏幕上显示出所指向地图上不同区域的天气信息
1994年,P. Milgram and A. F. Kishino在《A Taxonomy of Mixed Reality Visual Displays》阐述了虚拟环境和真实环境的关联度,将真实环境和虚拟环境分别作为两端,位于它们中间的被统称为“混合实境(Mixed Reality)”。其中靠近真实环境的是增强现实(Augmented Reality),靠近虚拟环境的则是扩增虚境(Augmented Virtuality)。

1997年,R. Azuma在《A Survey of Augmented Reality》定义了AR的基本特性:
-
Combines real and virtual(虚拟与现实的结合)
-
Interactive in real time(实时交互)
-
Registered in 3-D(3D注册:虚拟物体在真实物体上的准确定位)
同年,哥伦比亚大学的Steve Feiner等人发明了首部移动增强现实系统原型——Touring Machine,标志增强现实户外移动设备的开端。Touring Machine配备头戴式显示器、GPS*踪器追**、笔记本电脑和一台掌上电脑。用户可以通过3D显示器查看周围环境的影像和位置相关信息,同时还能通过掌上电脑获取其他辅助信息。

近年来,随着移动技术、可穿戴技术的硬件发展,大量基于增强现实的可穿戴设备相继涌现。
可穿戴技术(Wearable Computing)起源于MIT研究生Steve Mann从70年代末开始的科研探索。1980年,可穿戴计算之父Steve Mann使用摄像机及其他部件,从第一人称的角度来记录周围发生的事件。其后的几十年里,Steve Mann的研究不断进化,从头扛肩挑的大块头微缩到架在鼻梁上的小眼镜,最终达成了可穿戴设备的兴起和Google Glass的诞生。


2009年,MIT媒体实验室的学生Pranav Mistry用一个罗技摄像头、一台微型投影仪和一部手机打造了价格低廉的穿戴式手势交互系统SixthSense,摄像头可以捕捉用户的手指动作,而投影仪可以显示物理世界的增强现实信息。这项技术在TED2009大会一经展示,引起整个社会的巨大反响,相关视频近千万次的点击率,并且把可穿戴和增强现实技术的概念推广至普通大众。

第六感及其发明人Pranav Mistry


SixthSense在增强现实上的应用

Google在2012年发布的Google Glass,推动了可穿戴技术和增强现实商业化热潮的到来。

;

微软今年刚刚发布的HoloLens,让大众再一次见识到了增强现实技术的魅力。


Microsoft Hololens
除了这些大佬级的玩家外,还有些厂商同样值得关注,他们也在为打造钢铁侠“添砖加瓦”。
Meta Pro
增强现实创业公司Meta推出的智能眼镜Meta Pro是普遍被业界看好的一款产品。Meta Pro融合了Oculus Rift的浸入式虚拟现实体验和Google Glass的精细设计,采用了时尚酷炫的设计,允许用户徒手随时随地在空中构建全息3D图像,手势可通过眼镜横梁处的摄像头进行采集,再通过内部的3D虚拟现实处理器进行呈现,最后与用户眼前的现实场景进行叠加并进行互动,达到增强现实的效果。Meta通过与设备其他组件的配合和与更多设备的交互,可进行游戏,绘图,3D打印等工作。
Meta的团队堪称豪华,创始人兼CEO Meron Gribetz出身以色列*队军**,Meta技术的灵感正是来源于以色列*用军**增强现实技术;首席科学家是"可穿戴之父"的Steve Mann,而首席顾问则是“增强现实之父”的Steve Feiner。难怪Gribetz豪言要把《钢铁侠》、《少数派报告》等电影中出现的科幻场景带入到现实世界来。


DAQRI Smart Helmet
来自洛杉矶的创业公司DAQRI推出的智能头盔主要面向工业领域。用户只需要对周围环境或设备扫视一眼,头盔上的护目镜就能显示出设备信息以及环境温度、压力等数据。


Nuviz在Kickstart上发布的众筹项目SmartHelmet,是一部增强现实智能头盔,能够让用户随时查看到骑行过程中周围环境的交通数据,显示内容包括了时间、导航控制、GPS控制、本地天气和交通状况预测等等。


类似的还有Skully和LiveMap:







钢铁侠是越来越近了:消费者版本 Meta Pro 开始预售,售价3000美元
5)可编程物质(Programmable Matter)/ 模块化可重构机器人(Modular Self-reconfigurable Robot)
在《钢铁侠3》和《复仇者联盟》中,钢铁侠的机甲实现了变形和自我组装的功能,不再需要借助机械臂就可装配到Tony Stark的身上。


MK42
在现实中,科学家也开始类似技术——Programmable Matter和Self-reconfiguring Modular的研究。"可编程物质"指一种可以根据用户命令或者自主感应方式改变自身物理性质的“中介态物质块”。这种物质块是一种具备智能的中尺寸微粒(大小在100微米至1厘米),拥有独立的功能和数据共享能力,能够以某种方式灵活地自主组合或分离,形成一个新的“物体”。
1991年,波士顿大学的Tommaso Toffoli和麻省理工的Norman H. Margolus最早提出可编程物质的构想,阐述了由一组邻近节点间能够相互通信的计算单元构成的组合体。
2002年,卡内基梅隆大学的研究人员Seth Goldstein 和 Todd Mowry发起了科研项目Claytronics,探讨了Programmable Matter的软件、硬件实现机理。

CMU的Claytronics研究团队
2004年开始,美国军方DARPA开始了可编程物质的长期研究计划,预期“可编程物质”能够按照以下顺序运行:对外界信号做出反应,解码并传播指令;把信息转化为动作,传送微粒并使之构导致一定形状;微粒互锁使之形成某种物体;执行纠错和对最终状态进行信息编码,再次对外界信号做出反应;分解成最初的材料。同时DARPA资助了美国五所大学的相关研究工作:
-
Harvard大学George Whitesides Research Group开发了能够自我信息编码和物质组合的Rubik's Cube;

-
另一支Harvard大学研究团队David R. Liu Group依靠DNA碱基配对原理,进行基本结构的搭扣,实现智能材料的合成和分解;
-
MIT教授Daniela Rus领导的团队DRL开发了能够实现二维或三维变形结构的智能机器人组合;


Smart Pebbles

-
MIT另一位教授Neil Gershenfeld领导的Millibiology项目主要研究具备有生物学模拟结构和功能的中度尺寸智能组件;

-
康奈尔大学教授Hod Lipson领导的Cornell Creative Machines Lab利用仿生物酶模块构造方法制造出超强的物质材料。

【参考】
DARPA's "Programmable Matter" Project Creating Shape-Shifting Materials
6)生物电子工程
-
情感计算(Affective Computing)
首先由美国MIT媒体实验室教授R.Picard提出的关于计算机识别和理解人类情感的计算理论,通过各种传感器来获取用户的用户情感特征,并且能够针对情感的变化做出对应的智能反馈。

-
脑机接口(Brain-Computer Interfaces,BCI)
BCI技术通过采集和分析人脑活动状态的电子生理信号(目前主要头皮脑电信号EEG),来识别人的主观意图,从而实现根据用户大脑意念直接控制和操作外部设备。


-
神经机械学(Cybernetics)/ 人体芯片(VeriChip)
利用RFID技术开发出来的可以植入人体的微小芯片,芯片通过内置的信号发射装置,向外界发送信号和控制设备。
英国Reading大学的教授Kevin Warwick是世界上第一个智能芯片植入人。1998年Warwick通过手术将一块长2.5厘米、直径2.5毫米芯片植入左手臂,9天以后取出(取出后的芯片被英国科学博物馆收藏),成为世界上第一个Cyborg。2002年Warwick又通过一系列的植入试验﹐把自己的神经系统和计算机连接起来。

不靠天赋异禀的超能力,不靠飞来横祸的基因突变,钢铁侠Tony Stark仅凭科技的力量:一身炫酷的机甲就拯救了世界,赢得了无数粉丝。钢铁侠的一身机甲究竟距离现实有多远?其实,防御、*器武**系统是很常规的事情不必多说;智能对话系统Javis也已经有了现实版:S…显示全部
7)推进系统,方舟反应堆
不靠天赋异禀的超能力,不靠飞来横祸的基因突变,钢铁侠Tony Stark仅凭科技的力量:一身炫酷的机甲就拯救了世界,赢得了无数粉丝。钢铁侠的一身机甲究竟距离现实有多远?其实,防御、*器武**系统是很常规的事情不必多说;智能对话系统Javis也已经有了现实版:Siri和Google Now;飞行推进系统也有现实中的对应版本:离子推力器;而唯有最核心最重要的能源系统,方舟反应堆(Arc Reactor),现实中从未有人真正实现过。
方舟反应堆究竟是何物?现实中的人类距离实现有多遥远?
钢铁侠的方舟反应堆,不需要补充煤炭汽油等燃料,不需要放射性重金属也不需要光照,而且提供的能量密度高得惊人,这样的能源在世界上有且仅有一种:受控核聚变。聚变的原材料是氘和氚,如果技术发展的足够好那么只用氘也可以,而氘在自然界中极其丰富:水中就有足够的氘!因此我们可以推测,钢铁侠利用身体中的水作为原料,用小型离心机分离出氘,然后供给方舟反应堆用来聚变以获得能源的。
方舟反应堆的具体实现方式是什么呢?我们先看两张图:


图1是《钢铁侠1》中方舟反应堆的大号原型截图,图2则是现实中真正的受控核聚变方案之一:托卡马克(Tokamak)的设计图。相似度99%有木有!可见,钢铁侠的方舟反应堆,正是根据现实中的托卡马克改编而来。下面就先收收脑洞,谈谈现实中的托卡马克的现况。
受控核聚变之所以困难,是因为早在半个世纪前,人们就从物理上得到了一个聚变能量输出大于输入的条件,劳森判据:温度、密度与能量约束时间这三者之积,必须大于一个特定的数值。通过生炉子的类比可以更容易的理解这一条件:想要让炉子持续燃烧给我们供暖,那么必须要首先用高温的火苗去点燃,其次要有足够的燃料在炉子里以燃烧,最后就是炉子要有壁否则热量太快就散失掉了炉子就被熄灭了。根据氘氚的特性,最适合聚变的温度大约为一亿摄氏度…想要一瞬间达到这样的温度是容易的,但问题是如何同时保证一个不是特别短的能量约束时间呢?显然普通的炉子壁是行不通的,因为任何一种固体材料都无法经受住一亿摄氏度高温等离子体的轰击。为此,一种最主流的解决方案就是使用磁场来约束内部的等离子体,托卡马克就是其中一种设计。托卡马克是一个轮胎的形状,磁场方向见图2的黑色箭头,这种磁场方向的设计保证了最基本的等离子体稳定性。然而,磁场并不像炉子壁那么听话,等离子体在高温情况下即使有磁场约束也仍然会产生各种各样的不稳定性,导致系统很难维持和控制,这也就是半个世纪以来受控核聚变研究方向的人们正在努力搞定的事情。
公众可能很容易对受控核聚变有一个印象,似乎是好几十年了也做不出什么来。有一种说法是:1950年代,科学家说,50年后人类就可以用上聚变能了;2000年代,科学家说,50年后人类就可以用上聚变能了;现在科学家仍然在说50年后就可以了...其实,受控核聚变在过去几十年间的进展也是稳步提高的。实际上几十年前托卡马克上就有聚变能释放出来,但是能量输出还小于能量输入。1997年JET装置上实现了能量增益(输出与输入能量之比)为0.7;1998年JT-60装置宣称能量增益已经达到1.25,但是其实那是拿氘-氘反应间接推算出来的并不是真正的氘氚聚变。目前正在建设当中的ITER装置(国际热核聚变实验反应堆)目标是能量增益为10,预计可以在2027年建设、测试完毕开始做氘氚聚变实验。因此钢铁侠公司里的大号方舟反应堆并非遥不可及,也许10几年后世界上就真的有这样的装置存在了!
另外一个有意思的问题是,钢铁侠自己身上那个小型的方舟反应堆容易实现吗,离现实有多远?目前我们在托卡马克装置上所积累的经验告诉我们,小型化装置的情况并不乐观。通过几十年间制造出的上百个托卡马克的数据,人们总结出来了一个能量约束时间满足的经验规律:

其中等式左边表示的是能量约束时间,R是托卡马克的大半径,可见半径越大能量约束性能越好。因此想要把装置尺寸缩小几个数量级还能让聚变发生是个相当困难的事情,这也就是为什么越新越好的托卡马克就做的越大,为了达到聚变发生条件不得不如此啊…公式里还有其他几项,例如电流I、密度n、磁场B等,可以通过提高这些量来实现小型化托卡马克吗?问题是,电流I、密度n越大,托卡马克内部的等离子体不稳定性越强,电流太大则整个燃料可能完全失去约束然后炸坏装置。
磁场B如果可以增大倒是最好不过了,可是还是做不到啊!现在人类能实现的最大稳态磁场也就是10特斯拉这个数量级,ITER装置已经设计用这最大的磁场来做了,而其尺寸还必须得做成10米高那么大。。。因此钢铁侠如果想要真的做出来一个如此小型的托卡马克的话,他一定是发现了什么不得了的物理突破,当今世界上还从未有人发现过!不过鉴于等离子体理论研究的不给力现况,全新的物理现象的发现完全是有可能的,比如说80年代就在实验上首先发现了所谓的H-mode(高约束模式),一下子把聚变难度降低了不少。所以说钢铁侠如果是个物理实验狂人,搞出来这种新突破也不是不可能呢!
《

钢铁侠最核心的是能源问题和动力问题,方舟反应堆(Arc Reactor)已经有人回答了,我来补充以下飞行动力。钢铁侠这样不讲究气动外形的飞行器,显然是靠“只要动力够,砖头也能上天”的粗暴发动机。但是钢铁侠显然不烧油,能像喷气发动机一样喷射气体飞行,…显示全部
钢铁侠最核心的是能源问题和动力问题,方舟反应堆(Arc Reactor)已经有人回答了,我来补充以下飞行动力。
钢铁侠这样不讲究气动外形的飞行器,显然是靠“只要动力够,砖头也能上天”的粗暴发动机。但是钢铁侠显然不烧油,能像喷气发动机一样喷射气体飞行,所需要的技术目前研究比较少。
更关键的是,钢铁侠的发动机从太空,大气层到水下都通吃,堪称万能发动机
以下节选自 我的专栏 狂想电动喷气机—Elon Musk未完成的梦想 - 写给万分之一的创新者 -

Elon Musk 曾经在 TED 表示,所有交通方式都应该是电动的,因为绕不开牛顿第三定律,只有火箭无法电动,所以他做了SpaceX。他还想做电动超音速垂直起降喷气机
"There is this airplane design that I've had in mind for about four years. It is a VTVL, supersonic electric jet," ——Elon Musk
目前已经有很多人在尝试打造电动飞机,但是螺旋桨或者电动涵道风扇驱动的电动飞机,相对于现行喷气机并没有飞行性能方面的优势。为了做出电动喷气机,我们首先要了解喷气式发动机的原理。
-
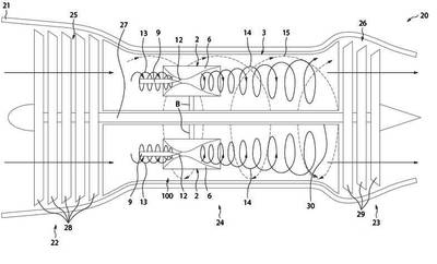
电传动与分布式推进
关于电动飞机,目前已经有的研究方向主要是燃气轮机发电,超导电机直接驱动风扇,这样虽然有能量转换损失,但是布置更加灵活,燃气轮机发电的工作环境也更加理想(本来就有很多燃气轮机是从航空发动机改的,为发电进行了优化)。<img


在目前民航机主流的大涵道比涡轮风扇发动机中,为飞机提供大部分推力的风扇的最佳推进转速较低,而作为动力源驱动风扇的核心机,包括压气机和涡轮在内,在高转速下具有较高的热效率。因此,采用电传动,给风扇和核心机解耦,可以减少压气级数量,提高热效率和推进效率,降低噪音和氮氧化物排放。这种电传动的全电飞机,虽然经过了“化学能—机械能—电能—机械能”的复杂能量转换,但是仍然有希望通过优化每一环节的运行效率,最终在燃料经济性方面超过现行的大涵道比涡扇发动机,从而适用于对于成本要求苛刻的民航产业。

采用分布式推进结构(distributed propulsion)配有16个超导电机风扇的客机概念图,由于没有燃烧室的加热膨胀功能,预期的飞行速度没有优势,主要是为了民航降低噪音。<img

采用分布式推进,具有可释放单元的美国边境监视概念机。图片来自NASA兰利研究中心

苏黎世联邦理工大学的分布式飞行阵列
-
他山之石—核涡喷
电动只能用来让飞机低速节能飞行吗?当然不止如此,喷气机高速飞行的关键在于空气膨胀,而使空气膨胀做功并不是只有燃烧一种形式。我们先来跑题,看看上世纪冷战时期美苏疯狂的核动力飞行器计划,为了实现洲际飞行,其配备的发动机取消了燃烧室,利用核反应堆的热量来加热空气使之膨胀推动飞行。
【两台通用电气的涡轮风扇发动机借助两台被屏蔽起来的反应堆成功达到了近满功率输出。将核反应堆放出的热加到冲压发动机上的设备的研究产生了兴趣。这个研究被命名为“冥王星计划”(Project Pluto)。】
美国P-1型核-涡喷发动机设计图

美国P-1型核-涡喷发动机设计图
;米亚西舍夫设计局超音速核动力轰炸机M-60设计图

米亚西舍夫设计局超音速核动力轰炸机M-60设计图
带有核动力方案的M-50

带有核动力方案的M-50
这是留里卡为米亚西舍夫设计的核-涡喷发动机СКБ-500。苏联工程师们对几种类型的核动力发动机进行了测试,包括冲压发动机,涡轮旋桨发动机机和涡轮喷气发动机。工程师对各发动机的不同传输机制进行了反复测试,其中重点验证各方案转递核反应堆产生的热能的情况。经过广泛的试验和各方案发动机、传送系统之间的反复对比,苏联工程师们的结论是:直接循环的涡喷发动机是最好的选择。设计人员决定采用直接循环的方式进行能源传输方式。这种方法将使用反应堆作为动力装置的能源,以取代喷气式发动机使用的燃烧。
在直接循环能量传输装置内,进入的空气进首先入涡喷发动机的压缩机,然后,通过一个引导空气通往反应堆堆芯的通风道。这个时候通入的空气中作为反应堆冷却剂的同时正在不断升温。离开后核反应堆堆芯后的空气又回到另一个通风道,并从那里经由发动机的涡轮喷出。
-
如何打造电动喷气机
从以上史料我们可以理解,喷气式发动机的燃烧室燃烧反应并不是高速飞行的必要条件,只要能有效地提供热源,使空气膨胀就可以了。
而被称为钢铁侠的Elon Musk 同学声称要做的电动超音速垂直起降喷气机应该如何驱动呢?
Musk认为电动超音速喷气机值得去做的主要依据是:飞机在高空飞行时,空气阻力小有助于减少损耗、提高效率,但是由于氧气稀薄,喷气式发动机的性能受到一定制约。而飞机自己携带氧气过于笨重就跟火箭没什么区别了。电动飞机取消燃烧室有可能做到不受任何含氧量限制,只要这个星球有适当密度的大气层就可以工作。为此需要寻求燃料之外的加热方法。
从Elon Musk核心的物理思维简单概括:飞机飞得越高,阻力越小,能耗越小,但是高空缺氧,燃烧产热不足,所以用电池提供电加热来替代。
国外有人提出了电弧加热的构想并申请了专利(Arcjet,而钢铁侠的能量源方舟反应炉的原文是Arc Reactor),该技术已经被应用在了卫星上,但是也有可能在大气层中发挥作用。

国外有人提出了电弧加热的构想并申请了专利(Arcjet,而钢铁侠的能量源方舟反应炉的原文是Arc Reactor),该技术已经被应用在了卫星上,但是也有可能在大气层中发挥作用。
等离子体发动机,或者说电磁推进,名字非常科幻,但是原理并不复杂:工作介质通过电弧时形成等离子体。在低气压下,电流遍及整个电极表面并在射流中形成一定分布。电流和磁场的相互作用使气体在轴向加速,产生很高的比冲。这种推进方式其实推力一般只有几十毫牛到几十牛,只能在真空环境下发挥作用。
如果把燃烧室的火焰换成等离子体,在大气层中只需要利用小部分等离子体的高温让大部分气体膨胀到一定程度就可以工作,此时用电场、磁场使等离子体加速并无必要。但是如果保留只用于太空模式的电场加速装置的话,确实可能实现同一台发动机大气层内外通吃的科幻效果。
但是普通气体大约需要加温到6000℃以上才能产生微弱的电离,因此等离子体作为热源的效率显然不可能比电阻丝高。国外也有人提到掺入过热蒸汽来取代燃烧室的构想。另外如果在高空高速为工作前提,可以直接省去风扇,构成电加热冲压。
等离子体除了用于外太空推进,还有一些其他有趣的应用场景,比如降低空气阻力。
日本铁道综研技术研究所在“铁道综研技术论坛2013”(2013年8月29~30日)上,展示了通过在受电弓弓头(接触送电线的部件)上安装等离子体激励器等来降低空气动力噪声的研究成果。通过控制受电弓弓头周围的空气气流,来防止产生卡门涡街,从而抑制噪声的发生。这一成果除了受电弓弓头之外,还有望应用于无法改成流线型等形状的部件,降低空气动力噪声。
等离子体激励器通过向介电体施加交流电压来产生等离子体。
最后,笔者在搜集资料过程中,找到了一些有意思的研究:水中稳态等离子体推进效应研究
为了提高船舶的航行速度、降低运行噪声以及实现直线推进,本课题在国防科工委技术基础研究项目“舰船定向用等离子体推进技术的研究”的资助下。开展了基于稳态或脉冲等离子体效应的喷气式推进在舰船上应用的可行性探索,关于稳态等离子体推进模型的设计以及动力特性的研究是其中重点之一。

当然按照现阶段的实验结果,这种船舶用等离子体发动机的推力小到可以忽略,估算推进效率仅为0.02,比起推进效率高达0.8~0.85的潜艇用泵喷推进器,很难有实用化的希望。

当然按照现阶段的实验结果,这种船舶用等离子体发动机的推力小到可以忽略,估算推进效率仅为0.02,比起推进效率高达0.8~0.85的潜艇用泵喷推进器,很难有实用化的希望。
为什么迄今为止,人类只研发出来一款AR手机
微信公众号 : coding-art (编码之妙)
微信公众号:debug51(我爱debug)