
近日,探长读财注意到,好贷网旗下APP闪贷推荐平台多个不知名现金贷APP,例如:闪借博士、魔音钱包、小钱门、花个球球、容易分期、51分期、山桃街、借东风等。其中,小钱门、借东风在聚投诉网站被大量投诉,包括推荐“高利贷”平台,收取高额手续费。
公开资料显示,闪贷APP是好贷网(中国最大的信贷分发平台)旗下*款贷**垂直搜索平台。除闪贷APP之外,好贷网旗下还包括好贷网及好贷APP(垂直*款贷**搜索网站)、信贷圈(信贷移动办公平台)、好贷云金融(布式*款贷**搜索联盟)。
天眼查数据显示,好贷网先后完成四轮融资,总融资金额超6000万美元,投资方包括合力投资、同创伟业(新三板:832793)、DCM中国、Temasek淡马锡、华创资本(宜信唐宁创立)、华平投资。

其中,华平投资是国际领先的私募股权投资机构,目前管理超650亿美元的私募股权资产,总部设在纽约,目前已投资50余家中国企业,包括中通快递、蚂蚁金服、神州租车、猎聘网、大搜车等。
DCM中国一家风险投资公司,管理超过 40 亿美元的资金,投资的中国企业包括前程无忧、58同城、快钱、好大夫在线、快手、脉脉等。
闪贷APP推荐的平台为何频遭投诉,探长读财先后*载下**多个APP实测发现,闪借博士、魔音钱包、小钱门等APP严重套路客户。
一、闪借博士
探长读财注意到,闪借博士《用户评估服务协议》显示,运营主体为齐齐哈尔向日葵网络科技有限公司。不过,探长在国家企业信用信息公示系统中并未查到该企业。这也意味着,闪借博士涉嫌虚假披露运营主体。
不仅如此,在闪借博士借款信息页面中,借款期限仍能选择7天、14天、28天。值得注意的是,央视315晚会曝光“714高炮”要钱更要命之后,各大贷超平台纷纷下架相关平台。然而,好贷网旗下闪贷还在为闪借博士这类平台导流。
闪借博士《授权扣款服务协议》显示,在您同意本协议后,本平台将委托第三方主体通过银行发起自动扣款,根据平台规定的资费标准划付299元服务费,请确保银行账户余额充足。

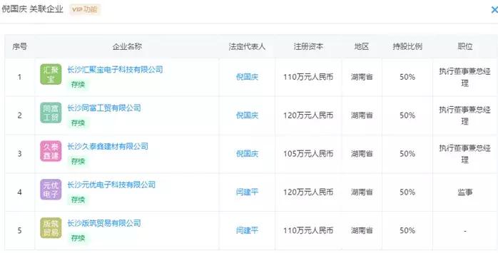
另外,闪借博士运营主体变为长沙汇聚宝电子科技有限公司(用户评估服务协议披露运营主体为齐齐哈尔向日葵网络科技有限公司)。工商资料显示,该公司成立于2018年6月13日,注册资本110万人民币,股东为倪国庆节(持股50%)、闫建平(持股50%)。
企查查数据显示,倪国庆节名下还有4家公司。其中两家公司成立于2018年6月13日,两家公司成立于2018年6月14日。

二、魔音钱包
探长读财从快贷*载下**魔音钱包,但页面显示*载下**APP为云享分期,注册并认证试着申请借款发现,云享分期又推荐花千记、好多钞票、好借易卡、云科贷、U现金、淘钱宝等平台。随后,探长读财又从魔音钱包(云享分期)*载下**花千记,最后又从花千记*载下**小简分期。
值得注意的是,要不是层层导流(闪贷——魔音钱包(云享分期)——花千记——小简分期),这些APP在应用商店根本搜索不到。不难发现,如果没有闪贷为其导流,这些APP很难被用户发现。而这些平台均以推荐*款贷**为幌子,向用户收取高额的服务费(资料评估费、推荐平台费)。
例如,云享分期《扣款服务协议》显示,在您同意本协议后,本平台将委托第三方主体通过银行发起自动扣款,根据平台规定的资费标准划付299元服务费,请确保银行账户余额充足(注:经探长读财核实,云享分期和闪借博士的扣关规则说明完全一致)。

云享分期《委托划付还款服务协议》显示,快贷超人运营方为广州邻西网络科技有限公司。这也意味着,快贷APP推荐的魔音钱包实则是云享分期,其前身则是快贷超人。

工商资料显示,广州邻西网络科技有限公司成立于2019年1月6日,法人代表杨小林,注册资本1000万人民币,股东为杨小林(持股90%)、陈先波(持股10%)。企查查数据显示,杨小林(关联38家企业)、陈先波(关联43家企业)。

不仅如此,两人合作伙伴还包括严扬音(关联41家企业)、任战龙(关联83家企业)、高志惠(关联18家企业)、罗军(关联22家企业)、陈向豪(关联32家企业)马庆超(关联5家企业)等人。事实上,这伙人在2018年底至2019年初批量注册上百家企业,并且交错持股,彼此相互关联。
不难发现,这些企业基本都是“壳”,为逃避监管而设立。例如,自融P2P平台多用壳公司发标,现金贷多用壳公司做运营主体。正因如此,这些企业不会正常经营,很快就会出现各种问题。以杨小林、陈先波为例,两人名下分别有15家和13家企业因“通过登记的住所或者经营场所无法联系”,被工商列入经营异常名录。
三、小钱门
探长读财在小钱门先后完成基本信息(包括身份认证、人脸识别)、工作信息,联系人、银行卡之后,点击申请借款(默认勾选代扣服务协议),随后就收到银行发来的银联扣款76元(业务模式与云享分期类似,收取评估及推荐服务费)。

值得注意的是,小钱门披露的《代扣服务协议》并未披露运营主体;不仅如此,小钱门在“关于我们”中也不曾披露。这不得不让人怀疑,小钱门在有意隐藏运营主体名称,试图逃避用户投诉以及媒体监督。
探长读财注意到,76元只是会员服务费,如需申请借款,还要根据借款金额收取相关服务费。默认勾选小额借款5000元,借款期限60天,需支付149元服务费;大额分期5000元,借款期限12个月,需支付299元,点击“去借款”则会被扣448元。
事实上,小钱门虽然承诺放款失败申请可退,但其目标却是收取更多的服务费。正因如此,小钱门根本不在乎客户实际需要借多少、借多久,而是默认推荐大额平台,收取高额服务费。
探长读财查询交易详情显示,交易商户显示:“(特约)网络支付”,交易渠道显示“无”,交易类型显示“银联在线支付”。为了查询扣款方,探长读财致电银联客服,得到反馈是,扣款方为北京畅捷通支付技术有限公司(下称:畅捷支付)。
值得注意的是,支付牌照刚刚获得续展的畅捷支付,却给小钱门这样APP提供支付通道。7月10日,畅捷支付在官网发布公告称,“央行于2019年7月9日对畅捷支付《支付业务许可证》准予续展进行公示,许可证有效期至2024年7月9日,业务范围为全国互联网支付、银行卡收单”。
事实上,越是涉嫌违规的业务,支付公司越赚钱。正因如此,畅捷支付虽频遭处罚,冒着被吊销牌照的风险,依然游走在监管红线边缘。2019年5月14日,畅捷支付因违反清算管理规定、非金融机构管理办法有关规定,被央行罚款9万元。2019年7月29日,畅捷支付因违反银行卡收单业务管理办法相关规定,被央行内呼和浩特中心支行罚款6万元。
工商资料显示,畅捷支付成立于2013年7月29日,法人代表王文京,注册资本2亿人民币,股东为用友网络科技股份有限公司(持股80.72%)、畅捷通信息技术股份有限公司(持股19.28%)。企查查数据显示,王文京为畅捷支付实际控制人,总股权比例为41.84%。
公开资料显示,王文京为用友集团董事长,中关村银行董事,互金平台友金所董事。2019年,王文京以225亿财富入选胡润全球富豪榜第712名,并荣登江西籍首富“宝座”。

来源:探长读财
作者:探长3号