哔哩哔哩,英文名Bilibili,或另一个更常用的简称——B站,这是大家熟知的一个视频网站。
在十年前的2009年,中国已经有优酷、土豆、酷六网等多家视频网站,B站非常精准地瞄准了国内正在兴起的二次元文化,为二次元群体提供了一个以视频为载体的交流平台。
经过10年的发展,B站现在已经发展为国内最大的二次元社区,但他又不仅仅局限于此,很多人都说B站将会成为中国的youtube。
等等,为什么是B站,而不是优酷、爱奇艺和腾讯视频?后三者明显月活要大很多。
Youtube其实是以UGC(用户自制内容)为主的视频网站,而优爱腾三家网站虽然大,但其主要内容是PGC内容,比如电视剧、电影和综艺等,其实这三家更像是Netflix。
国内目前以UGC视频内容为主的大视频网站只有B站、西瓜视频、抖音和快手了,但后三者是以短视频为主。所以目前中国国内像Youtube的网站只剩B站一家了。
在B站对自己的简介中是这样给自己定位的:中国年轻人聚集的文化社区。
B站不仅要做到像Youtube一样的视频网站,更要做一个给年轻人交流兴趣的社区平台。近几年从B站新增分区、开设频道、增加非二次元内容占比等一系列动作来看,B站正在向这个方向发展。
本文将从产品、市场、用户、功能四个方面对B站APP进行分析,并给出一些优化建议。
本文将从以下几个方面进行分析:
- 产品功能结构
- 市场分析
- 用户分析
- 用户调研
- 功能分析
- 总结
使用环境:
- 操作系统:iOS 13.1
- 软件版本:5.48.2
- 体验设备:iPhone Xs
- 体验时间:2019年10月
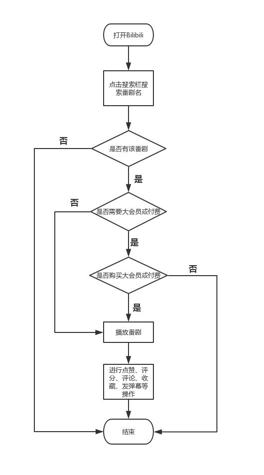
一、产品功能结构图&用户使用路径
1.1 产品功能结构图

1.2 用户使用路径图
场景一:用户上B站看关注UP主的动态

场景二:用户想看一部新番剧

场景三:UP主用APP上传视频

场景四:UP主查看自己视频的评论及弹幕

二、市场分析
2.1 产品简介
说起“弹幕”,现在大家都不会陌生,基本上各大视频网站和直播都有这个功能了。
但一说起弹幕网站,可能很多人第一个想到的就是B站了。虽然B站不是弹幕的发明者,但确实是他让弹幕在中国流行了起来。
B站上线于2009年6月,全名叫哔哩哔哩(Bilibili),最早主要以二次元的动画内容为主,视频没有片头贴片广告,再加上互动性很强的弹幕,B站很快就受到了年轻人的喜爱。同时B站鼓励用户上传自己的视频作品,让B站的内容越来越丰富,不再局限于二次元,目前主要有视频、游戏和直播三大业务板块。
从最初上线的月活30万用户,到现在月活1.1亿,90后和00后占比达78% ,B站已经成为国内领先的年轻人文化社区。
2.2 定义市场
B站最初瞄准的是二次元市场,早期还有众多二次元网站与其竞争,其中最大的竞争对手也是和B站最为类似的ACfun(简称A站)了。在B站成立至今的10年里,由于A站多次转手和决策失误,逐渐落寞了下去,如今月活只有290多万;而B站的月活已经达到了他的38倍,在国内二次元社区这个垂直领域,B站基本上已经坐稳了头把交椅。


只做二次元的内容很难实现用户数量大的突破,所以B站在2012年之后新增了更多的内容分区板块,如生活、科技、音乐、舞蹈等,将内容多元化,能够吸引更多的用户,之后B站的目标用户是泛二次元群体。
泛二次元的市场是巨大的,多家数据分析机构都给出了2018年中国泛二次元的人数规模,如艾媒数据2.9亿,艾瑞咨询3.2亿,CNG数据3.7亿(泛二次元2.7亿,二次元核心用户1亿)。
虽然各家的数据有所不同,但大体上可以预估2018年泛二次元群体在3亿左右,2019年可能达到3.5亿人。
B站的目标似乎不止于泛二次元内容,其官网说“B站是中国年轻人聚集的文化社区”,目标用户是90后、00后这批被称作“Z世代”的人。
在2018年上市前后,B站动作频频:
- 在2017年12月,B站就组建了自己的电竞俱乐部,并获得了2018 LPL、全区域总决赛、洲际赛的赛事直播权和点播权;
- 2018年11月13日,B站上线了哔哩哔哩漫画;
- 2018年12月18日,哔哩哔哩发布了由B站主导的20余部动画作品。
- 此外,B站还在音频、虚拟主播上开始布局。
可以看出,B站开始向着受众更广的“泛娱乐”领域进军,B站的目标用户已经扩展至“中国的年轻人”。
2.3 用户数量天花板在哪里
那么中国这样的年轻人有多少呢?
到2019年6月,我国网民数量达8.54亿 (数据来源:CNNIC《第44次中国互联网络发展统计报告》),其中20-29岁这个年龄段有2.1亿网民。从全国第六次人口普查数据(2010年)的数据中可整顿出,2010年对应的12-22岁的人有2.2亿——也就是说,现在20-29这个年龄段的人有几乎95%的人都是互联网用户。
未来随着网络的进一步普及和5G的建设,相信新一代的年轻人上网率会更高。未来5年,中国15-35岁人有将会有4.7亿,那么12-35岁的上网用户粗略估计会达到4.9亿。


B站被称为中国的Youtube,二者在内容上确实有很多相似之处,都是以PUGC(Professional User Generated Content,即“专业用户生产内容”)为主,Youtube成立于2005年,到2018年在美国的月活有1.98亿,普及率92%。
鉴于中国互联网起步较晚,超过40岁的互联网用户比例较少,想要完全覆盖他们确实有难度;但对于12-35岁的用户来说,互联网普及率超过95%,所以如果B站未来继续向泛娱乐化迈进,在年轻人中的普及率能达到70%(目前爱奇艺在中国网民中的覆盖率为71%),那么这4.9亿的用户中,就有近3.4亿用户,这是笔者认为未来5年的用户数量天花板。
2.4 B站市场表现如何
据B站2019年Q2的财报数据所示:B站的月活用户达到了1.1亿,同比增长30%,付费会员用户达到630万,同比增长111%,营收达到15.4亿,同比增长50%。其中游戏业务9.2亿,占比为60%,较B站上市时的83%有了较明显的下降。
除此之外,付费用户数、广告、直播、电商等营收都有较为明显的提高,这说明B站这个视频网站正在逐步走出“靠游戏恰饭”的尴尬情况。
和B站比较类似的二次元视频网站ACfun在月活、营收等方面的数据和B站已经不是一个体量上的了,所以B站目前在二次元领域处于绝对领先的位置。但其未来发展的竞争者却有很多,其中最主要的竞争者当属视频三巨头(爱奇艺、腾讯视频和优酷)和2016年上线但崛起迅速的UGC视频平台——西瓜视频了。

2.4.1 与视频三巨头的版权之争


从2018年7月到2019年7月这一年的时间里,爱奇艺、腾讯视频、优酷的平均月活为6亿,5.4亿和4亿,牢牢占据着在线视频的前三,比B站的最高月活1.1亿都高出不少,而且付费用户数量是也高出很多倍。
据爱奇艺公布2019年Q2财报显示,位于月活榜首的爱奇艺Q2营收为71亿元,其中广告22亿,会员等增值服务34亿,腾讯和优酷虽然没有直接公布营收数据,但保守估计他们的数据也都要比B站高出不少。导致用户数量差异大的主要原因有以下3点:
1)网站面向的目标用户不一样
B站成立之初是面向特定的用户——二次元群体,随着自身的发展逐步转向更广泛的“Z世代”,而且并没有很刻意地做过拉新和用户增长,而“优爱腾”在一开始的目标用户就是各年龄层的有观看视频需求的用户。
2)资本投入差异较大
随着国家对版权的重视,视频网站想要获得更多的用户必然要投入更多的成本用于购买影视作品版权。
从天眼查获得的融资情况来看,B站到2018年之前的9年时间里,只有3.5亿美元;爱奇艺由百度的支持,在2018年上市前就已经获得了18.8亿美元的融资;优酷成立于2006年,起步早,丰富的视频内容和观看体验让优酷获得了很大的用户基础,并且在2017年之前就获得了61亿美元的投资,背靠阿里,资源非常好;腾讯视频就更不用说了。
3)内容差异
由于前面提到的两个原因,导致B站的内容和优爱腾有很大的区别。
优爱腾有非常强大的资金作支撑,买入很多大IP的影视节目,同时这三家都有很多自创的综艺节目,比如爱奇艺的《中国有嘻哈》,腾讯视频的《创造101》以及优酷的《这就是街舞》等。优爱腾这种以PGC(Professionally Generated Content指专业生产内容)为主的视频平台不仅内容多,范围广,而且质量高,这就能满足国内大部分看视频的用户的需求。
而B站是以PUGV(Professional User Generated Content专业用户生产内容)和UGV(User Generated Conten用户原创内容)为主,B站上的用户除了看番剧之外,更多的是按照自己的兴趣进入特定分区观看别的用户上传的视频。相比优爱腾来说,受众用户会少一些,再加上B站以二次元起步,早起其内容有很多是围绕二次元生产的,即便后来有很多类型的视频,但给很多人的印象还是二次元网站,所以新用户增加的比较慢。
好在B站很早就意识到了这些原因,目前正在逐步走向面向全体年轻人的“泛娱乐”市场,以获得更多的用户增长,但这时候就不得不面对来自优爱腾的竞争了。
B站之前是专注二次元的内容,购买了较多的动漫版权,前几年竞争较小,但随着国内泛二次元产业的逐步扩大,头部视频网站也开始纷纷布局二次元内容,会下大手笔购买动漫影视版权。比如年轻人很喜欢的《海贼王》在爱奇艺独播,《死神》在优酷独播,《名侦探柯南》在腾讯视频等等,这就给B站导致了不小的压力。
但B站也有自己的特点,即众多的UP主源源不断地提供视频内容,这也是B站最重要的资源。
视频三巨头“优爱腾”和B站的竞争是部分版权内容的竞争,但面对大部分UGC和PUGC内容,三巨头是相对较弱的,更多的年轻用户看自己符合自己兴趣爱好的视频都会去B站。
从下表2019年B站内容分区情况可以看出,目前在B站热度最高的前三甲是游戏区、生活区和音乐区,动漫区排在第四,而且游戏和生活的分区稿件也是远超动漫分区,这一点说明B站的内容已经逐步丰富了起来,并非单纯的二次元。
目前的B站和Youtube很类似,优爱腾更像Netflix。既然Youtube可以在美国做到92%的覆盖率,我们有理由相信B站向着更广泛的UGC内容发展后会有更多的用户的。

2.4.2 与西瓜视频的用户之争
除了与视频三巨头的版权之外,B站在内容与用户上与目前很火的西瓜视频也存在竞争。
虽然西瓜视频是短视频平台,B站属于传统的长视频平台,但1-10分钟的短视频与B站的内容有很大的重合部分,随着生活节奏的加快,越来越多的用户也更喜欢简短、快速、碎片化的视频消费。
再加上西瓜视频是头条视频升级而来,虽然上线于2017年,但借助头条庞大的用户基数、优秀的推进算法以及丰富的推广活动,很快西瓜视频就达到了很高的月活。
从二者的月活数据上可以看到,2019年7月西瓜视频月活达1.7亿,B站0.95亿,几乎是一倍的差距。西瓜视频的日人均使用时长为80分钟,和B站81分钟相差无几。相对于B站内容目前给人的“二次元”属性,西瓜视频一出生就是泛化的内容,受众更广。
在B站未来“泛娱乐”化的路上,西瓜视频是一个不得不面对的对手。

和B站类似,西瓜视频也是注重PGC和UGC内容的平台,但西瓜视频在初期就直接瞄准的了PGC,并且给优秀的视频内容给予补贴激励(20-120元/万*放播**),刚开始内容有些粗糙,但随着补贴的激励,以及算法对优秀视频的推荐,让优秀的创作者劳有所获,越来越多的优秀视频出现在了西瓜视频上。
B站在2018年也推出了激励计划,申请成功的创作者可获得20-30元/万*放播**,创作者还可以在*放播**页面的下面承接一些广告展示作为额外收入,但相比于西瓜视频成熟的广告分发机制和较多的用户量,B站目前在广告上的收入还是相对比较弱的。优秀创作者在B站的收益也相对较少,这也让一些B站的优秀创作者“跳槽”去了西瓜视频,比如游戏圈很火的敖厂长,生活区的拯救中华田园犬等都相继签约了西瓜视频,这部分创作者用户的流失对B站来说还是有一定影响的。笔者也是B站的一个UP主(视频制作者),在视频发布初期,因为内容还不错,涨粉较快,当时就有一些MCN公司通过B站私信来找我,让我去西瓜视频上发视频,而且补贴确实比B站的激励计划多一些,可见竞争之激烈。
在内容上,西瓜视频也将视频分区管理,目前游戏、Vlog、时尚和农人的分区都非常受欢迎,也非常符合自己的用户定位——广泛,不论什么年龄,在城市还是乡镇,很多用户都可以在西瓜视频找到自己喜欢的内容,或者说心甘情愿地看被推荐的视频。因为在推荐算法上,西瓜视频采用了国内一流的头条的算法,让用户很容易地“上瘾”。而B站在推荐算法上相对简单一些,主要以用户关注+频道+搜索为主,从实际的用户反馈来看,首页推荐视频的相关度较高,但点击率较低,用户对推荐并不是很满意。
2018年西瓜视频投入40亿打造自己的微综艺节目,今年7月西瓜视频宣布针对vlog内容推出“万元月薪”计划,设立百万创作基金、亿元现金分成池,投入百亿流量,帮助优秀vlogger实现月薪过万,激励长期优质内容创作。这些投入无不显示出西瓜视频在PGC和UGC内容上的发力,能获得高收入对创作者来说无疑是更具有吸引力的。
优质的创作者能带来优质的内容,从而带来更多的用户,所以B站需要在未来考虑如何留住并吸引优质创作者,从而赢得年轻一代的用户。
2.5 问题总结
目前B站已经在二次元这个领域取得了巨大的成功,但这也给B站贴上了非常醒目的“二次元”标签。
B站一定是要发展的,那么继续保持小而美的二次元圈子肯定是行不通的,B站接下来要丰富非二次元内容,在科技、数码、生活、时尚等板块继续发力,开展更多鼓励大家投稿的话题活动,可以将很受欢迎的科技区公开课板块,生活区中美食、搞笑等板块独立出来,再新增娱乐板块等,以弱化二次元属性。
B站的月活有1.1亿,通过答题考试的正式用户有4600多万,正式会员的权益主要是在弹幕特权和评*功论**能上。这是为了保障弹幕质量,这确实有很不错的效果,让B站的弹幕质量要远高于其他网站,但60道问题中很多都是关于二次元的,对一般用户来说真的挺难的,这无疑是把一部分想加入B站的用户拒之门外了。
所以,未来可以简化答题,主要把问题集中在弹幕礼仪和B站自身就好,减少用户增长阻力。
B站目前视频内容还是很丰富的,想要获得更多的用户光靠用户的口碑是比较慢的,还需要适当做一些推广活动,比如西瓜视频在2018年1月推出的《百万英雄》活动,2个月的时间,月活翻了一倍,达到1.2亿,效果拔群。B站既然面对的是年轻一代人,这一代人受教育程度较高,其实也可以做一些类似的答题推广活动。
继续加大在动漫领域的深入,除了购入新番的版权外,还需要保持和国创动漫公司的合作,一是增加自己在动漫领域的权威性,二是推动国漫的发展,打造属于B站的IP,为未来发展奠定基础。
优化推荐算法,加入对用户行为更多纬度的分析,让用户在首页就能看到自己喜欢的内容,让用户也有“上瘾”的感觉。
B站目前大部分收入还是来自游戏,来自视频业务(付费会员、广告)的收入较少,但考虑到B站之前立下的Flag“B站所购正版新番,永不添加贴片广告”, 所以在动漫和影视作品这一块内容的广告收入一大块就没了。
但B站可以考虑适当增加广告的类型,比如一般视频的片头加入类似Youtube 的5秒之后可关闭广告、片尾广告、*放播**页推荐流广告等。大会员的权益相对较少,可以考虑加入特殊弹幕、彩色评论、双倍赞、画质增强等功能,当然如果资金允许可以考虑购入更多的影视版权。
三、用户分析
3.1 用户数据
3.1.1 用户性别分布


从两个较大的数据网站查到的B站用户性别分布有较大的出入,可能是统计方式不一样导致的。于是我找到了B站用户的爬虫信息(来源 uups爬虫组),该数据从2009年到2018年在B站随机抓取一部分用户,性别有男、女以及未填写(归为其他),数据不一定准确,但从数据中我们看到B站明显的性别分布变化。

从上图可以看出。B站在早期主要以男性用户为主,经过这10年的发展,目前男女比例趋近相同的平衡状态。

结合中国二次元用户性别以男性为主的情况,可以推断出因为B站早期是二次元网站,所以男性居多,随着内容的扩充和逐渐向泛娱乐化转型;女性用户也越来越多,从B站生活区、娱乐区的火爆也可以侧面印证女性用户确实越来越多了,
平台内容整体上没有性别差异,“男女通吃”说明B站的泛娱乐化初见成效。
3.1.2 用户年龄分布

很明显,B站的用户主要集中在30岁以下,也就是“Z世代”的90后,00后,占比达73.7%。“
Z世代”因为生活在电视、网络等媒体较发达的年代,从小就可以接触到动漫相关的内容,再加上受教育程度普遍较高,接受能力强,很自然地也就成了泛二次元群体的主要人群,B站早期作为二次元社区很容易获得这部分用户的亲赖。
随着B站的发展成年轻人的兴趣社区,越来越多的非二次元内容涌现出来,生活区的美食、萌宠、搞笑,科技区的科普、公开课、,数码区的评测、教程等内容都受到年轻人的喜爱。因为年轻人大部分都知道自己喜欢什么,会去找自己感兴趣的内容看,而B站上丰富的UGC和PUGC内容,让年轻人很容易找到自己感兴趣的内容。
B站以年轻用户为主,内容也就以年轻人的兴趣为主,从而吸引更多地年轻用户,这样一个循环让B站正在成为了一个年轻人的社区。
正因为这样强烈的“年轻人”属性,所以对年龄稍大的人群会有些“不友好”,首先二次元相关的内容他们不懂,很多数码科技类内容他们也不感兴趣,生活区的搞笑、体验、社会新闻等内容他们勉强能看,但很多视频都会加入“玩梗”的点,他们也理解不了,就会觉得很无聊。
我曾经给我几个70后80后的亲戚推荐B站,全部以失败告终,他们都表示上面没啥感兴趣的内容,同时我还发现他们不太喜欢用搜索,只会在推荐页和分区页面看看,他们更喜欢推送式浏览内容,这也就说明为什么他们那么喜欢用抖音和头条新闻了,所以B站用户里超过35岁的人就很少了。
3.2 用户画像
用户一:
小梅,女,20岁,在上海读大学,二次元爱好者,喜欢看动漫。
她非常早就开始使用B站了,基本上每天都有追的番剧,用B站的原因是B站没有广告,点开就看,非常爽,所以她经常给身边的人安利B站。
她知道B站一直都是用爱发电,没有广告还得买番剧挺难的,所以之前也承*过包**几次喜欢的番剧,出了大会员后她毫不犹豫就买了大会员。她觉得B站的大会员一年149,在双十一或活动的时候才98一年,相当便宜了,这样还能看到更多的番剧。不过,她也抱怨过B站没买到柯南、海贼等有名的动漫版权,只能去别的网站看。
用户二:
小婷,女,25岁,深圳,某单位文职工作两年,喜欢跳舞。
大学里舞蹈社团的朋友给她推荐了B站,她很快就喜欢上了B站的舞蹈区,因为里面的舞蹈种类非常多,而且表演视频、教程、经验分享等等,内容非常丰富。
工作之后,没有时间去专门学舞蹈了,为了丰富工作之外的生活,她便在B站自学了几套宅舞,她觉得效果不错,就简单录制了几段上传到B站, 成了舞蹈区UP主,收获了几千粉丝,这让她很受鼓舞。
之后有深圳的舞蹈爱好者邀请她周末一起去舞蹈工作室跳,换上了更专业的演出服,配上了更专业的布景和拍摄设备。她的视频马上收到了更多的点赞和关注,她现在已经有3万多的粉丝了,她打算继续和工作室合作,粉丝达到10万后可能会辞职专门做舞蹈区UP主。
用户三:
阿冰,男,21岁,在北京读大学,喜欢打游戏
他很喜欢玩电脑游戏,尤其是《孤岛危机》、《巫师》、《古墓丽影》等3A大作,但这些游戏有时候会有几个关卡很难过去,他一般会上B站搜索游戏的通过视频等攻略,同时看看大神们的操作,他开始关注一些游戏区的UP主,比如渗透之C君,起小点等。
因为阿冰一直不太敢玩恐怖惊悚游戏,一惊一乍太吓人,但游戏的剧情又很吸引人,比如《寂静岭》系列,《逃生》系列等。所以他会看一些UP主做的恐怖游戏体验视频,还有弹幕给高能预警,就不那么害怕了。
有时候阿冰也会看看游戏UP主的直播,看他们吐槽游戏也很有意思。他准备利用暑假录一个游戏的通过视频教程,也尝试一下做UP主。
用户四:
小李,男,18岁,大一新生,机械专业
小李刚上大学,家里也给了他1万元让他买笔记本、手机等大学生标配产品,机械专业需要CAD绘图,对电脑配置要求较高,他也想要一个拍照好一些的手机,但钱也不是很多,当然买不了最好的笔记本和手机,所以他肯定要用这些钱买性价比最高的产品。
于是,他在B站的数码区看来很多笔记本、手机等数码产品的评测和体验视频,最终选择了自己认为性价比最高且符合自己专业使用的笔记本和手机,还省了一些钱买了个耳机。同时这些视频也让他对电脑和手机的配置、各种芯片性能了如指掌,很多想买电脑的同学都来找他寻求意见,他成了同学里的数码小达人。
用户五:
小王,22岁,男,杭州某大学大四学生,喜欢旅游、摄影
他喜欢旅游,平时也爱摄影,因为是学生,旅游的钱都是自己平时带家教挣的,所以基本上都是穷游,出发之前会看很多攻略,但玩完后他觉得很有趣,比报旅行团好玩多了。
他之前经常在B站上看别人的旅游视频,他觉得会有很多像他一样的学生想旅游,但没很多钱去玩。他在大二的时候决定也开始录制自己的穷游攻略,他用手机加自拍杆的方式录制了自己去黄山穷游的视频,教大家如何避开黄山周围骗游客的坑,如何找到好吃的当地平价饭馆等。视频发布在B站后先通过同学的转发在学校里火了一把,然后B站上也慢慢有了很多点赞和收藏,让他信心大增,之后又录制了更多自己寒暑假去穷游的攻略视频;现在在B站有6万多粉丝,他打算毕业后做旅游自媒体。
四、功能分析及改进建议
4.1【新增】进度条“空降”功能
4.1.1 改进原因
目前B站上有很多教程类、评测类、游戏攻略类的视频,这类视频一般都比较长,很多时候用户可能只想看这类视频中的一部分,比如PS教程里的扣图部分、游戏攻略里BOSS战通关部分等等。这时用户不得不自己多次快进进度条才能找到这部分内容,显然很多UP主也意识到这个问题,所以会在视频开篇加入“目录页面”(如下图,图片来源:UP大份海鲜饼蛋蛋面《sai入门基础&高阶知识》)。但这种目录很不方便,一是用户要手动滑动进度条,大家都知道滑动进度条一般都不好精确控制;要反复回到目录页面来找下一部分想看的内容。

除上述几类视频需要目录功能外,还有很多视频都存在“前方高能”的高潮或是亮点部分,比如鬼畜、搞笑、音乐、游戏类视频,有的人想直接看亮点部分或是想反复看,但调整进度条又比较麻烦了。
4.1.2 改进建议
针对上述问题,可以将目录与进度条结合起来,即在进度条上可以添加“空降点”,用户在点击这些点时会显示该点的“小标题”和“画面预览”,再点击一下即可直接从该点*放播**。这些“空降点”可以由UP主添加或在UP主开放添加“空降点”权限后由观众添加,并获得UP允许后显示在进度条上。
界面如下:

这是用户在竖屏状态下看视频时进度条上的空降点显示方式,即小黄点;当用户点击小黄点的位置时,由于屏幕位置有限,此时只会先显示预览小标题,点击小标题即可“空降”至该点开始*放播**。

在横向全屏*放播**时,点击进度条上黄色空降点时,会显示预览框,有该时刻的预览图以及小标题。点击该预览框即可“空降”至该点*放播**。在输入弹幕框的右边多了一个“空降点”图标,点击该图标,即可显示“空降点”列表,如下图:

若UP主开启该视频的添加空降点权限,则在该页面上方会显示“添加空降点”,点击即可为该视频的此刻添加空降点,缩略图会自动显示为视频此刻的截图,上方会显示添加空降点的时间位置,用户只需要输入此刻的小标题即可添加完成。界面如下:

UP主通过手机上传视频时在编辑界面也可以给视频添加空降点,并确认是否允许观众添加,如下图。
考虑到这是新功能,可能会有人对改功能不了解,所以在添加空降点后添加了一个帮助符号,点击该符号便可显示该功能简介及添加方法,具体内容这里就不赘述了。下方是否允许观众添加空降点开关。点击“添加空降点”后,进入添加空降点页面操作,如图所示:

4.2【改进】弹幕互动
4.2.1 改进原因
弹幕是B站视频的一大特点,其他各大视频网站的争相模仿就是对这种互动方式最大的肯定。
从对多位深度用户的访谈结果显示,被访用户都会开启弹幕观看,但发弹幕的较少,可能大部分人也都是看弹幕多,但发弹幕少。
有部分用户和up主反应,弹幕虽然增加了看视频的互动性。但弹幕本身的互动较少,目前只有点赞和举报,而且点赞数还没办法显示;如果在弹幕里提出问题,也不会知道什么时候有人回答了,还得过段时间重新来看这里的弹幕,或是直接就忘了。
很多人来B站看弹幕也是因为能在弹幕里找到共鸣,所以B站的弹幕可以适当增强互动性,增强这种观众之间、观众与UP主之间的共鸣感,从而增强B站的用户粘性。
4.2.2 改进建议
我给出的建议是在弹幕上增加比较明显的点赞和回复功能,很多观众在看弹幕时很希望找到对视频中的内容想法一致或别出心裁的弹幕,当看到这样的弹幕时,喜欢发弹幕的人可能会重复发一下。
而大部分人觉得发弹幕麻烦所以频率比较低,这部分人大多只会内心高兴一下之后就没动作了,所以加入比较明显的且操作简单的“弹幕点赞”之后可以增加这部分人的互动。而且对于被点赞弹幕的发送者来说,收到点赞也是一种积极的肯定,可以促进这部分用户更多地发送弹幕表达自己。
弹幕回复也是大部分被调研用户期待的功能。
目前没有弹幕回复功能,后来互动的弹幕一般都是发“前面的XXXXX”“点赞表白前面红色弹幕”之类的。但发之前那条弹幕的人不知情,后来观看他们“隔空对话”的用户有时还得*退倒**回去看这条说的是之前的哪个弹幕,互动体验不好。
弹幕可以加入回复功能,回复的弹幕会以自己选的颜色以左对齐缩进两格的方式跟在目标弹幕下方,这样便不影响其他观众的体验,同时观众也能明白弹幕的互动。被回复的弹幕发送者也会收到被回复的提醒,且可以查看并继续回复。
因为“点赞”这个动作比较简单,互动率应该是比较高的,所以应该将点赞流程简化并将结果展示出来,但同时也不能影响观看体验。所以,对于未被点赞的弹幕采用一般弹幕显示方式,点赞该弹幕的方式和目前一样——先点击该弹幕,在左下角会出现对该弹幕的三个操作按键:点赞、回复和举报,点击点赞按即可。
当该弹幕被点赞后,该弹幕后会跟随一个“点赞按钮”并显示被点赞数量,这时便可直接按该按钮点赞。
为了不影响观看体验,避免满屏点赞按钮,可以设置一条规则,在同一画面里,最多显示5个可直接点赞的弹幕(优先显示该画面点赞数量的TOP5弹幕,显示数量还需评估,这里只是给个思路)。对于UP主点赞过的弹幕,点赞标志呈现黄色,自己已点过赞地弹幕呈现粉色。

弹幕回复则需要点击该弹幕,在左下角会出现对弹幕的三个操作图标,点击中间的回复即可打开回复界面,和发弹幕的界面类似。为了保证大家能看出来这是回复弹幕,所以回复弹幕需保持和被回复弹幕样式一致,这里就不能设置弹幕颜色和类型之类的了,直接输入回复内容即可,下方也会提示回复的目标弹幕内容。

弹幕回复则需要点击该弹幕,在左下角会出现对弹幕的三个操作图标,点击中间的回复即可打开回复界面,和发弹幕的界面类似,为了保证大家能看出来这是回复弹幕,所以回复弹幕需保持和被回复弹幕样式一致。
这里就不能设置弹幕颜色和类型之类的了,直接输入回复内容即可。下方也会提示回复的目标弹幕内容。回复弹幕后在*放播**界面显示方式如下:

在弹幕被回复后,被回复弹幕的人在消息通知的“回复我的”里会收到一个通知提醒,如下图,可以左滑选择删除该通知或是不再提醒该弹幕的回复,点赞提醒和此类似,不再赘述。

4.3【改进】频道页面优化
4.3.1 改进原因
B站IOS APP在2018年6月8日更新的5.27版本上将原来的标签升级为频道,用户可以根据自己的喜好选择订阅,这给B站新增了一种内容聚合的方式。
但从15位被访用户的反馈来看,效果并不是很好。上线一年多来,被访用户反应频道标签页几乎很少看,以前的分区也很少看,主要原因是推荐和动态页面就够看了,没在意过频道页面,也没有注意去设置关注一些频道。再加上要在频道页看视频用户需要先关注频道,然后再点开关注的频道子页面然后才能看到较多的视频,操作较多,所以使用率较低。
同时被访用户也表示很少关注B站的“话题”,只是在刷首页推荐视频的时候会收到相关热点视频,但不太会去关注B站的热点话题。
这就导致B站面对突发热点或想制造话题时的乏力,目前的频道功能可以起到一定推广热点的作用,但还需要更好的运营。
4.3.2 改进建议
想要提升用户使用频道功能的频率,首先,要减少用户看到频道内容的操作步骤,所以我建议将原来的频道页面进行改版。界面对比如下:

改版前的频道页面大部分是关注频道图标的展示,关注频道的视频需要点击频道后才能看到,页面信息量少,难以激发用户使用兴趣。
改版后,将“全部频道”及分区以及“订阅管理”放在最上方,将已订阅的频道以滑动标签的方式放在顶部,用户左右滑动即可连续切换自己订阅的频道内容,非常方便,最重要的是可以省出大部分页面空间用于直接显示内容。
将原来需要用户点击多次才能浏览的频道内容,现在只需要左右和上下滑动即可,极大简化了用户使用路径。
其次,之前频道页面里的内容主要以视频为主,虽然有“话题”标签,但话题内容还是以视频为主,专栏和图片内容偏少,既然是话题,那么参与讨论的人越多越好,但视频内容的发布门槛会让一部分用户望而却步,相比而言,带话题的图片动态会简单一些,而且阅读起来也更加快速。所以,我建议将频道页的内容展示方式也进行改进,改为如上图所示的“豆腐块”展示方式,将B站主要的内容——视频和专栏,以及带图片的动态进行综合展示。用户也可以选择某一类内容进行浏览。分为两栏主要是为了同时展示更多的内容,用户看到感兴趣的可以点击进入常规的*放播**、专栏、图片动态页面进行浏览。
再者,除了目前已有的按*放播**量、最新、精华排序浏览外,我还建议加入热评展示,将点赞较多,或是点赞数上升快的评论展示出来,这样可以增加频道内的讨论,增强话题热度,也鼓励更多的用户参与到评论区的讨论中。
而且有时候评论也往往能出现亮点,给原话题内容带来二次创作。热评页面如下图所示,除了展示原内容外,在下面还会展示1-2条热门评论。用户可以直接点赞或是进行评论回复参与到讨论中。

通过以上的改版在一定程度上可以简化用户对频道内容的使用路径,增加用户对频道页面的关注和使用频率。除上述页面改进之外,在运营方面也有一些需要改进的地方,比如目前频道里话题的刷新内容不是实时更新的,而是定时更新,所以一定时间内每次刷新都是同样的内容,这不利于内容的分发,应该改为实时更新,每次刷新都有新内容。
在首页可以更多得推荐一些频道,当有热点事件发生是,可以利用相应的频道进行热点内容的分发等等。目前频道的管理应该是由B站工作人员和算法来共同完成,其实可以将频道的管理权限开放一部分该频道的活跃用户。
这样一些小的频道也有人维护,大的频道内容质量也可以得到提升,B站只需要做好审核工作即可。具体可以借鉴“百度贴吧”的管理员模式,在这里就不展开讨论了。
五、总结
B站能成为中国的YouTube吗?
这并不简单。
投入大量资金建立多元生态,这意味着B站在较长一段时间内仍难脱离亏本运营的状况,而用真金白银建设的多元内容,能否让更多的*在用潜**户留下仍是未知数。
另一方面,其他平台同样在加紧部署这场“抢人大战”。随着vlog内容的兴起,腾讯、百度、抖音、微博也都纷纷入局,发展建立起了自己的vlog生态。从二次元走出来的B站,要面对的竞争者没有庸手。
而短视频进一步的流量收割也让B站感到压力,斗音快手的短视频格局背后是娱乐碎片化的趋势,这让以长视频为核心的B站免不了遭到冲击,抢博主的同时,大家同样在抢用户的注意力。
其他问题一样很严重:内部的运营压力、二次元与主流用户平台的过渡矛盾、大环境的潜在影响…… B站的youtube之路还有很多坎坷。
当然,B站的优势同样明显:海量的年轻用户、相对良好的社区环境、全面的布局体系、生产优质内容,提高用户粘性的UP主们、长视频为核心反过来也是一种优势……
或者说B站会成为一个不仅仅是像Youtube的视频分享网站,更是一个兴趣文化交流社区?
B站这个十岁出头的,充满传奇的弹幕网站,会给我们更多的答案吗?我们一起期待吧。