现在是互联网迅猛发展的时代,有流量就有主动权,网站的数量也如雨后春笋般拔地而起,域名是网站建设不可或缺的条件,一个优质的域名可以源源不断地给企业带来流量,但域名资源有限,谁先注册使用权就在谁的手上。
一、域名的含义
域名又叫网域,是由一串用点分隔的名字组成的Internet上某一台计算机或计算机组的名称,用于在数据传输时标识计算机的电子方位(有时也指地理位置)。
这是官方解释,通俗一点来说域名就是由主体+后缀组成,比如网址http://www.gxaojing.com中,http://是协议,www.gxaojing是主体,.com是后缀,所以域名是www.gxaojing.com。

域名
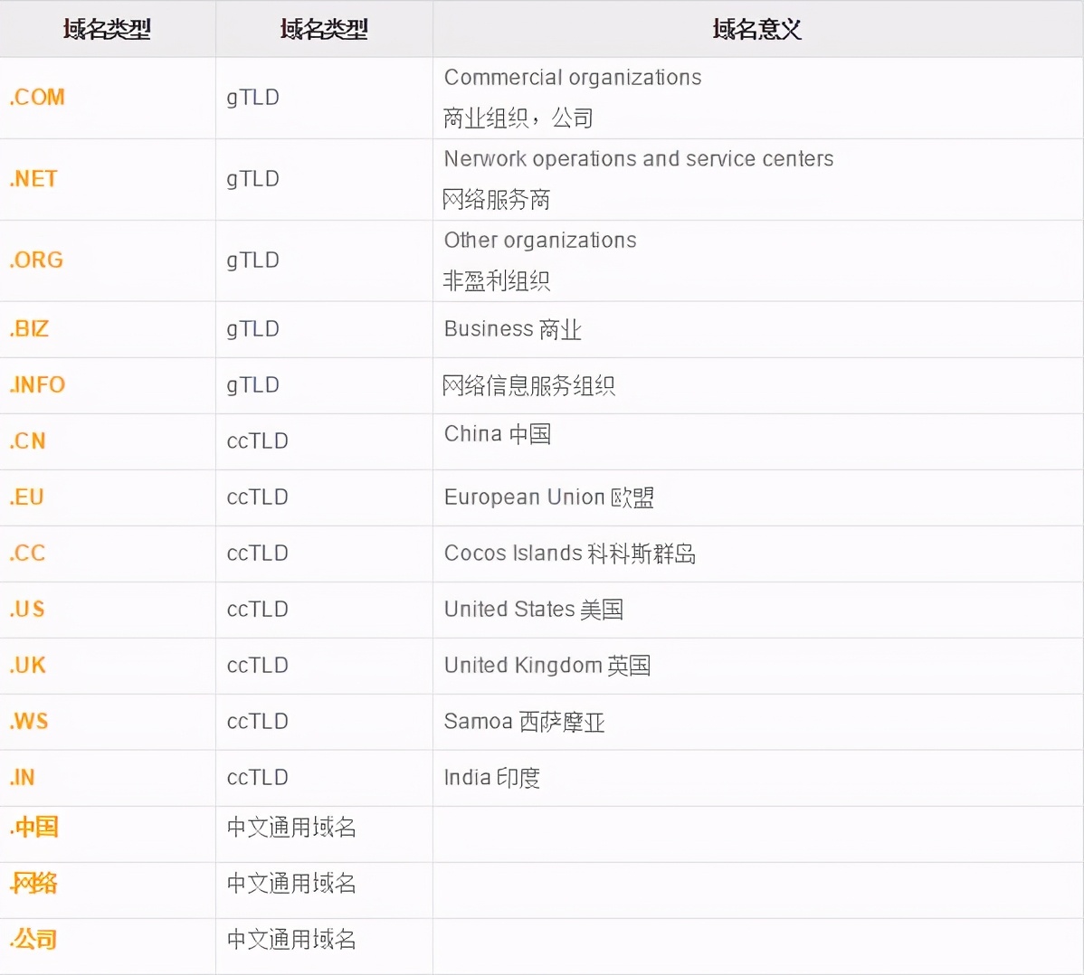
二、域名的类型
不同的后缀的域名含义是不一样的,按照分类可分为:

域名的分类
三、域名选择技巧
1. 与品牌或者公司名称相关
仔细观察你就会发现现在很多网站的域名几乎都与公司名称或者品牌名称息息相关,域名是传播品牌的方式之一,可以是汉语拼音缩写也可以是英文缩写。
2. 提倡简短易记
选择的域名最好简短一些,便于记忆,看一眼就能过目不忘,方便搜索,这样可以大大提高用户体验,降低推广难度,不过,越简短的域名越稀缺费用也越高。
3. 选择主流后缀
比如.com,.cn等,这些后缀的域名使用率更高,范围更广,更有利于SEO优化,同时也更容易被大众认知。

网站域名
4. 检查域名的历史记录
在挑选域名时尽量先利用工具查询该域名是否有黑历史,比如有没有被搜索引擎惩罚过等,一旦发现就要重新选择。
5. 避免使用连字符和数字
有些域名可能已经被别的企业注册了,但依旧还是很想使用这些域名,就想在域名中添加连字符或者数字,但这种带有连字符的域名,很容易会让客户误以为是垃圾邮件,或者输入错误,最终导致无法找到网站。

网站建设