网上关于坦克装不装空调的讨论此起彼伏,许多网友感叹几千万的坦克难道装不起几千块的空调?然后又对出口到泰国的坦克专门安装了空调的消息大发感叹。
网上确实有些讨论是以讹传讹,比如搬出局座张召忠发表的观点“空调就是战斗力”,局座说了好几次,可考的最早一次是点评军舰的,后来延伸到一切*器武**。

局座
局座的这番话主要说的是中国*队军**在观念上的转变,以前强调一不怕苦二不怕死,忽视改善重*器武**的作战环境,也就是不重视人机工程,现在越来越重视人机工程对部队长时间发挥高昂战斗力起到的作用。其实还隐含了一个信息:军工科技的进步让改善人机工程成为可能。
但是坦克有必要单独装空调吗?
空对空的争论毫无意义,直接翻坦克部队的教材好了,中国坦克的教学手册也许是机密,不过美国M1艾布拉姆斯系列的教材——也许是删减版的教材是公开的。
在车长三防教学这一章节中,展示了三防装置控制仪表板的图解,这块仪表板上有一栏为温度调节(AIR TEMP),旋钮上方是升高温度(WARMER),下方是降低温度(COOLER),如下图红框所示:

仪表板
三防,我们国家通常指防护核*器武**(Nuclear)、生物*器武**(Biological)和化学*器武**(Chemical),西方*队军**还加了一项放射性物质(Radiological),所以有NBC和CBRN两种提法。
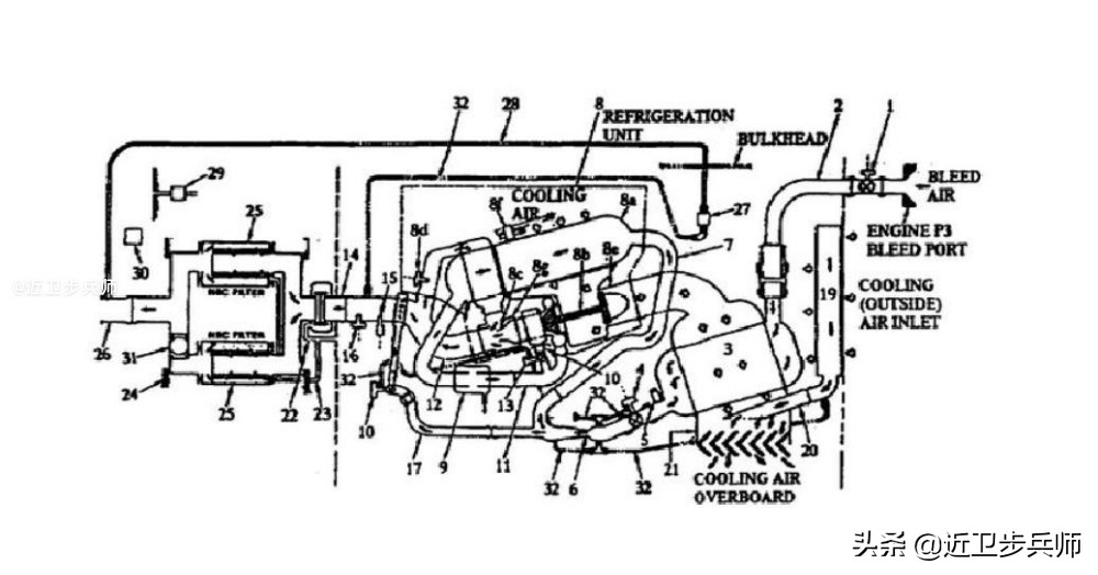
而从讲解美军M1坦克三防装置构造的部分中,也可以看出,确实在结构设计时考虑了调节温度冷暖的功能,构造图如下:

构造图
其中相关部件有:
3. 预冷装置;
5. 排气口超温旋转开关;
8. 制冷单元;
8a. 三防热交换装置;
8b. 空气循环装置;
8c. 喷射泵喷嘴;
8d. 低温报警传感器;
8e. 空气冷却排气室;
8f. 喷水孔;
8g. 喷射泵外壳;
14. 空调的三防出风管道;
15. 空调的超温旋转开关;
16. 空调温度传感器;
17. 温度控制管道的进气管道;
18. 温度控制阀;
21. 冷却空气舷外排气室;
22. 空调出风口密封件;
30. 空调温度调节装置;
也许有人注意到,M1主战坦克三防系统中整合的空调组件没有与制冷剂有关的结构,而民用的空调冰箱通常使用氟利昂之类的制冷剂。这也是*器武**设计师们在坦克装甲车辆空调方面最早考虑的设备——汽化物循环原理的空调。
强行把民用空调装在装甲车的例子也不是没有,比如下图这种,据说是印度尼西亚*队军**为老式装甲车做的改装。

装甲车装空调
20世纪70年代,英国*器武**设计师确实试验过在装甲车上安装采用氟利昂制冷剂的空调,当时使用的是氟利昂12(R12)。
但是经过试验发现,*用军**战车行驶的条件和环境比较恶劣,那么氟利昂泄露的情况比民用空调要频繁得多,这需要后勤部队频繁补充氟利昂12。氟利昂12对大气层中的臭氧具有较强的破坏力,而且有一定的毒性,目前已经被取代。当时无法解决制冷剂泄露和制冷剂的危害,所以*器武**设计师们没有采用这种原理的空调组件。
20世纪70年代末,英国开始研究涡轮式空气制冷装置,这是一种从飞机空调装置借鉴过来的空调装置,其原理是将利用室外温度较低的空气作为制冷剂来冷却坦克车内的高温空气,通过热交换来达到降温的目的。
最开始研究的是开式,也就是和战斗机上使用的结构类似,技术成熟,研制难度小,但是坦克所处的环境湿度变化大,使得冷却效果受影响较大。
后来改为闭式,也就是增加负载热交换器,干燥器和补气装置后,能克服这些缺点。
但是,坦克和飞机不同,发动机转速较低,需要加装增速器才能满足制冷需求。通过试验和比较,体积小、功耗低、高增速比的高速电机是最能满足设计需求的,这对许多国家来说,是个不小的技术难题。
美国在20世纪80年代初则研制了变容式空气制冷空调,这种装置利用压缩-膨胀空气改变温度的方法,重量轻,体积小,效率高。这项技术虽然不需要增速器,但是对压缩机的技术要求较高。
从美军M1坦克教材上展现的内容来看,其三防系统整合的空调装置,应该就是这一种变容式空气制冷空调。

演习中的M1
除了输送冷空气的空调系统之外,三防装置中的风扇其实也可以缓解坦克内部的炎热。当然,坦克内部还有其它的一些问题需要风扇:
坦克开火后,发射炮弹产生的废气和烟尘需要排出去,
战场或者行军环境中也可能有大量的烟尘和异味,
新型坦克和旧式坦克的改进型上装备的新式电子设备需要适宜的工作温度,需要降温。
以世界上第一种装备三防装置的坦克——苏制T-55主战坦克来说,就装有离心式超压风扇,这个风扇位于炮塔底板上,有160个叶片,直接装在7000-7700转的600瓦电动机上。这个风扇的风量是120升/秒,能形成正压,将主炮开火产生的废气和烟尘排出去,同时阻止坦克外面的烟尘和异味进入。
如此大的风量,在一般条件下可以满足坦克的通风换气以及调节温度的需要,如果遇到化学*器武**或者生物*器武**的袭击,则通过配合滤毒设备来实现防护的目的。
所以说,网上一些所谓坦克兵在酷热环境下如何艰苦,甚至中暑生病的段子不一定是真的。建立正确的观念,正确操作手中的*器武**,完全可以避免这些情况。

演习中的解放军坦克
而且,各国*器武**设计师没有止步于上述这些原理的空调装置,更先进的制冷吸附剂空调可以利用发动机余热来循环使用,相信以后能在各种重*器武**中为军人创造更宜人的作战环境,毕竟空调就是战斗力!
阅读更多军事内容,请关注 近卫步兵师