在网站推广江湖里流传这么一句话,不怕能力好的,最怕会抄的。做企业做产品,不可能一枝独秀,多多少少都有些竞争对手,是敌亦是友,也是我们学习的榜样。分析竞争对手的网站是网站推广和优化必不可少的一步。今天牛商君就来说下我们牛商网分析竞争对手网站常用的5步分析法(原创,转载请标明来处)。
竞争对手网站5步分析
第一步、确定你的主要竞争对手
做seo第一点就是要找到你的竞争对手,如果你连谁是你真正的竞争对手就不知道的话,那你怎么能做到知已知彼呢?确定主要竞争对手还是相对简单的,百度一下你的核心关键词,简单看一下前5页的文章页面,就可以大致确定你的主要竞争对手的网站了。例如我们牛商网是专业做营销型网站的,那我们就搜索“营销型网站”,看看靠前的几家网站分别是哪个公司。
此外,还可以通过平时的公司业务接触也可以收集到公司主要的竞争对手。
好了,确定主要竞争对手和搜集到他们的网站后就可以进入网站分析重头戏了。下面我决定牺牲自我,成全大伙,以下案例将以“牛商网”为操作案例说明具体步骤。
第二步、网站大数据分析
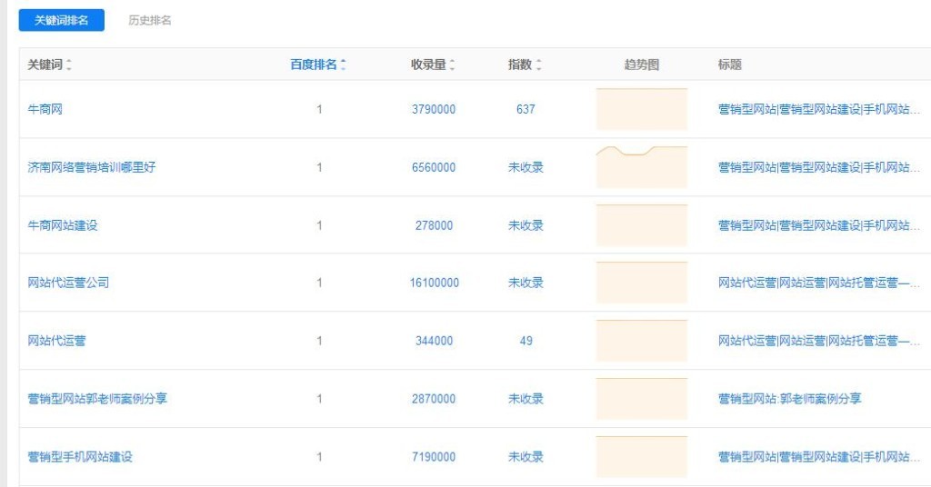
牛商网一般用5118大数据平台进行分析:http://www.5118.com/
1、首先打开5118大数据分析平台,输入竞争对手的网站地址,点击【搜索】,就会出现该网站的综合分析,会详细列出网站详细的seo状况,这些信息都会间接折射网站的优化状况:

从权重、快照更新时间、域名年龄,可以了解竞争对手的具体实力情况,百度受宠排名、排名趋势等可以了解到竞争对手所有的关键词的排名情况。

其中对我们最有用的就是关键词,可以让我们知道竞争对手流量是通过哪些关键词过来的,那么接下来就要我们点击关键词排名趋势的【数据详情】,这里会按照排名从高到低列出所有关键词,而且包括指数、搜索量和所属页面


接下来点击【导出列表】就可以导出竞争对手的所有关键词,作为自己网站以后做长尾关键词的参考,导出格式为excel的,一键导出而且查看很方便

当然,现在5118改版了,导出数据功能需要使用邀请码开通后才可使用此功能,邀请码嘛,我手里是有一些,欢迎关注我们官微问我要咯。
然后打开excel文档,观察对方的关键词,可以通过观察收录量选择一些竞争力度小的关键词开始做起啦!(我把我们网站给出卖了,好害怕~~~~(>_<)~~~~)
第三步、网站基本数据分析
牛商网一般是通过站长工具来分析,了解对方的网站基本数据,也有部分好友喜欢用爱站网的,看个人爱好哈。
1、输入并打开站长工具SEO综合分析网址:http://seo.chinaz.com/,站长工具是站长中最为熟悉的一个了,而且功能也很全面,用来查看网站seo信息操作起来也很方便
2、输入你需要查看的竞争对手的网址,注意带www和不带www是有区别的,两者代表不同的站点,查询出来的数据是不一样的,所以输入的时候,根据自己的时间情况查看,然后点击查询

从【seo信息】中我们可以看到竞争对手的权重信息,pr信息和首页导出链接、导入链接信息,【域名年龄】可以看出竞争对手做了多久了,结合下面的所有信息,可以全面的了解到竞争对手的信息。
我们还可以通过点击【百度流量预计】下面的数值,就可以看到竞争对手的网站长尾关键词了,里面列出竞争对手的每一个长尾关键词的排名,以及每个关键词带来的流量,让对手的流量来源一目了然,十分强大

爱站网倒是有一个查询站群的功能,可以查询一个网站持有者是否持有多个域名和网站,可以在爱站网的综合查询信息中查询可知:

我们牛商网也是万网的金牌代理商,所以有很多选择在牛商网建站的客户也选择在牛商网购买域名和服务器(和万网相同的价格,增加了免费备案等多个增值服务)。
爱站网查询网址:http://www.aizhan.com/siteall/
第四步、网站内容数据分析
1、网站整体结构框架分析:通过对竞争对手网站进行整体结构框架,这样可以了解竞争对手网站内容建设方向及占比,可以通过robots.txt文件(路径为:www.域名.com/robots.txt)找到竞争对手网站地图(http://www.域名.com/sitemap.xml) 然后做下数据清洗,统计出不同页面模板的占比。做出饼图,直观分析出各页面模板占比。

2、网站营销力分析:一个好的营销型网站就像一个业务员一样,了解客户;善于说服之道;具有非常强的说服力;能抓住访客的注意力;能洞察用户的需求;能有效的传达自身的优势;能一一解除用户在决策时的心理障碍,并顺利促使目标客户留下销售线索或者直接下订单,更重要的是它24小时不知疲惫。

可以从查看竞争对手网站是否有明确定位、优势体现、在线客服、留言系统、资质荣誉证书、权威认证等进行检查其网站营销力。网络使所有东西商品化,要赢得客户关键不是产品,而是用户体验,而用户体验从用户进入网站开始,就要布局好。给访客以信任权威的感觉,这些都是基本的企业网站营销力的要求。

3、站内优化分析:企业网站另一个重要功能是网站推广功能,而搜索引擎是目前网民获取信息最重要的渠道,如果企业网站无法通过搜索引擎进行有效推广,那么这个企业网站从一定程度上来讲其营销性会大打折扣,所以要检查对方网站的站内优化情况。
观察一个网站的SEO优化效果可以从观察分析网站的页面设计是否符合用户体验,目录的深浅,网站各栏目内容相关性,TKD的写法(title, keywords,description)、SEO标签设置、图片有无加ALT标签,代码是否精简,栏目结构是否清晰,网站url是否静态化处理、URL规则是否统一,内链结构、外链建设等等(这个分析就很费时间了)。关于url静态化谁都是知道目前的搜索引擎对html页面抓取速度较之asp和php等其他语言快。还有网站的域名是否易于品牌识别,空间是否稳定,打开速度快与否等网站基础原因。
4、站外推广分析:除了分析站内优化外,还需要了解竞争对手在各大社交网站、网址导航、自媒体平台、SEM、BD合作、EDM等各种渠道的投入。唯有如此,你才可能超越竞争对手,抢占先机。
第五步、网站品牌名称热度分析
用户搜索网站品牌名称的次数能很好地显示网站的知名度,牛商君一般用百度指数咯~当然也有好搜指数等一大堆指数啦,都可以看看趋势变化情况。

在此罗列出我常用的指数查询大全:
百度指数:http://index.baidu.com/
百度指数批量查询工具:http://baiduindex.links.cn/
360指数、好搜指数:http://index.haosou.com/
搜狗指数:http://zhishu.sogou.com/
淘宝指数:http://shu.taobao.com/
天猫指数:http://shu.taobao.com/
阿里巴巴指数:http://index.1688.com/alizs/
京东数据罗盘:http://luopan.jd.com/
SEO数据风向标:http://www.chaoji.com/seoreport.aspx
阿里研究中心:http://www.aliresearch.com/
cnzz数据中心:http://data.cnzz.com/
第六步、网站运营人员分析
借助各大招聘网站,如前程无忧、拉勾网、智联招聘等招聘平台,可以了解到竞争对手的人员分工、工作职责。通过工作职责,你可以推断出部分竞争对手的运营策略、人员配备、人员稳定性啦。
监测你的竞争对手,是一个永无止境的任务。本文中列出的所有动作都比较费时,但如果你不想离开你周围的世界一无所知,你需要花时间进行分析。即使你看你不能击败竞争对手,你一定会向他们学习,这将帮助你更有效地在自己的搜索引擎优化的努力。不断的对于对手网站进行分析,不断的总结我们的经验,不断的总结和分析别人的优化手法,最后,我们才能得到我们最终想要得到的内容。
祝大家在网上牛起来!!!
版权声明:原创作者为牛商网曾小梅(官方微信号:nsw88com),转载请标明来源于牛商网nsw88com,牛商网是营销型网站始创者和标准制造者,我们一直秉承着“让传统企业在网上牛起来”的理念,现在已经帮助5000多家企业在网上牛起来了!希望以上文章能对你有所帮助。