2019年已经进入倒计时阶段,关于2019年的各项数据盘点工作也开始如火如荼的开始了。而在2019年上半年,热门词汇有“柠檬精”、“盘他”、“雨女无瓜”等等,这些热词中相当大一部分都被注册商标了。
2019年下半年也发生了很多事情,也有很多新的热词进入大家的视野,成为网民们的“新宠”。那么经过下半年的“激烈竞争”,究竟有哪些热词进入2019年度流行语榜单,哪些热词又遗憾落榜呢?这些热词的商标注册情况又如何呢?下面就随权小妹一起来看看吧。

文明互鉴
即世界上不同文明之间加强交流,相互借鉴。“文明互鉴”是构建人类命运共同体的人文基础,是增进各国人民友谊的桥梁、推动人类社会进步的动力、维护世界和平的纽带。“文明互鉴”已成为全球“热词”,在国际、国内媒体上广为传播。
通过商标查询,可检索到四件“文明互鉴”商标注册申请,其中有两件是2016年提交的,两件是2017年提交的,目前这四件商标都已经注册成功了。

区块链
本质是一个共享数据库,存储于其中的数据或信息,具有“不可伪造”“全程留痕”“可以追溯”“公开透明”“集体维护”等特征。2019年1月10日,国家互联网信息办公室发布《区块链信息服务管理规定》。后中央定调“把区块链作为核心技术自主创新的重要突破口”“加快推动区块链技术和产业创新发展”。“区块链”已走进大众视野,成为社会的关注焦点。
关于“区块链”的商标申请那就多了,有545件,相关的商标名称包括“区块链之家”、“区块链·智能保险”、“区块链情报组 INTELLIGENCE GROUP”、“区块链游戏”、“区块链彩票”、“区块链黄金”等等,最早的一件是在2018年06月21日提交的,彼时区块链的概念正是最热的时候,而且光2018年一年就提交了454件“区块链”商标申请。

硬核
译自英语“hardcore”,原指一种力量感强、节奏激烈的说唱音乐风格。后来引申指“面向核心受众,有一定难度和欣赏门槛的事物”。近年来,其含义进一步引申,人们常用“硬核”形容“很厉害”“很彪悍”“很刚硬”,如“硬核规定”“硬核妈妈”“硬核玩家”“硬核人生”等等。
与“硬核”有关的商标申请也挺多,有312条,商标名称包含“硬核原创”、“硬核智云”、“硬核天地”、“硬核智业”、“硬核空间”、“硬核青年”、“硬核勇士”、“硬核玩家”等等。在这些商标中,只有5件是在2018年底提交的,其他307件都是在2019年申请的,尤其是2019年1月份《流浪地球》上映后,关于“硬核”商标的申请大幅上升。

融梗
把别人精彩的创意融合进自己的作品中。近几年多部文艺作品以“致敬”之名进行“抄袭”之实,网络上出现过好几次针对“融梗”定性的集体讨论。但到底是“合理借鉴”还是“违法抄袭”,二者的“边界”到底在哪,始终不能达成一致意见。今年10月底,热播影片《少年的你》的原小说被爆料“融梗”日本推理小说作家东野圭吾的多部作品,网友议论纷纷。

相对来说,“融梗”的商标申请就要少的多,只有3件,是南京纯霖商贸有限公司在2019年11月05日申请提交的,商标类别为第35类、第38类和第41类。

××千万条,××第一条
《流浪地球》中反复出现的行车安全提示语“道路千万条,安全第一条。行车不规范,亲人两行泪”。这句“安全守则”虽不合辙押韵,读起来甚至还有点拗口,但贴近现实,能唤起人们的安全意识,在人们心中产生了共鸣。随后,使用范围扩大,衍生出了新的造句格式“××千万条,××第一条”,如“健康千万条,睡眠第一条”“护肤千万条,科学第一条”。
与“××千万条,××第一条”有关的商标目前倒是没有检索到。

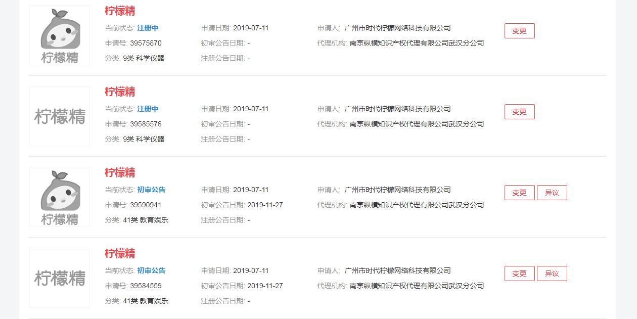
柠檬精
字面意思是“柠檬成精”,用来嘲讽他人,或用于自嘲,表达对他人或外貌或才华,或物质条件或情感生活等各方面的羡慕。“我柠檬精了”就相当于“我羡慕了”。有时也说成“我柠檬了”,或“我酸了”,表达的都是同样的意思。还出现了“酸甜柠檬精”的说法,多用来形容被别人的浪漫爱情甜到又不禁产生羡慕的“酸”意的复杂心情。
“柠檬精”这个词曾经入选2019上半年热门词汇榜单,当时查询到关于“柠檬精”的商标注册申请有一条,是在2019年3月25日提交的,商标注册类别为第35类。
不过在这半年关于这个词的商标注册申请就多了许多,目前可检索到18件与“柠檬精”有关的商标,商标名称也丰富起来,包含“柠檬精”、“柠檬精品商城”、“柠檬精灵 FAIRY LEMON”、“柠檬精油”、“柠檬精致烤肉 LEMON FINE BARBECUE”、“柠檬精品酒店 LEMON INN”等等。

996
一种工作制度:早上9点上班,晚上9点下班,每周工作6天。2019年3月,互联网公司的程序员们在网络上公开*制抵**“996”工作制。后成为社会热点,引发“福报论”等诸多社会议论。又因违反了《中华人民共和国劳动法》,招致了社会各界的批评。
在2019年上半年,“996 ICU”入选热门词汇榜,而在2019年下半年,“996”这个词脱颖而出,成为年度热词之一。
与996相关的商标也不少,一共有84件,商标名称包含“996 PARK”、“996.IU”、“996不动产”、“996 加班宝”、“996 续命宝”、“996 活力丸”等等。

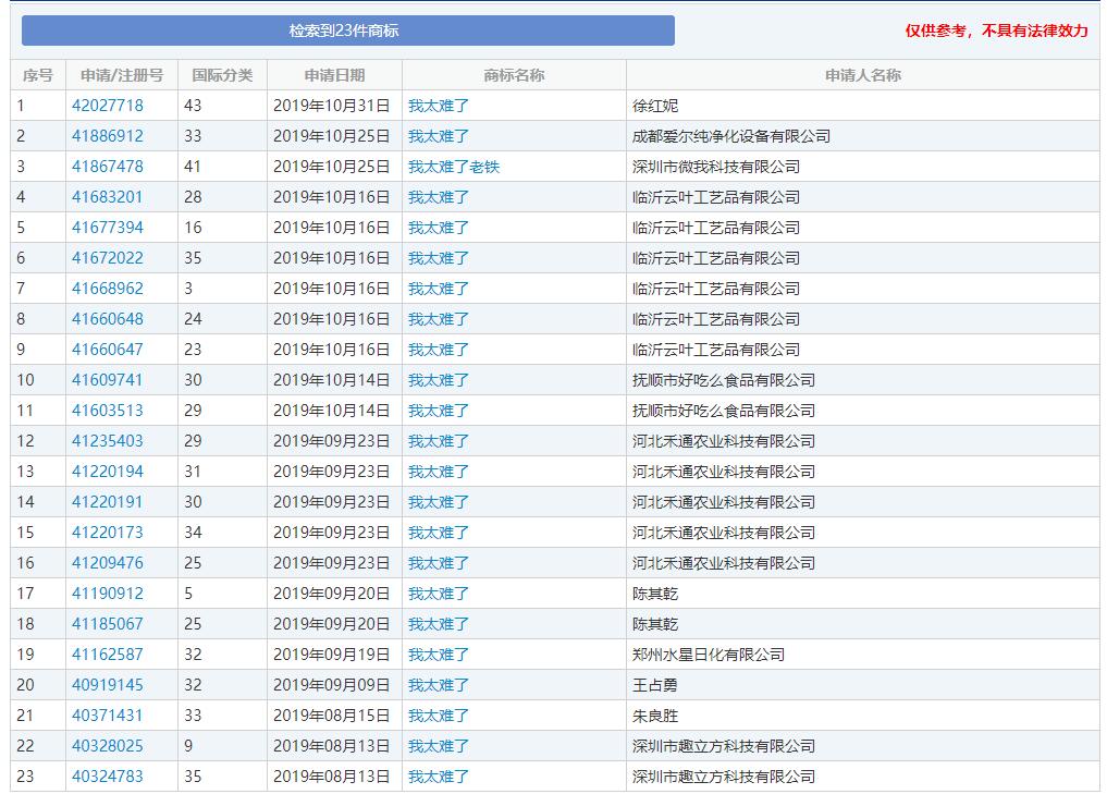
我太难/南了
“我太难了”出自“快手”视频网站上的一个“土味视频”。视频配了一曲忧伤的音乐,主播眉头紧锁、眼神空洞,一边说着“我太难了,老铁,最近压力很大”,一边欲哭无泪地用双手紧紧扶住额头。该视频发布后,“我太难了”立即引爆网络。随后,网络上还出现了以“我太难了”为主题的表情包,为了好玩有趣,用麻将牌中的“南风”代“难”。也有人据此把话说成“我太南了”。“我太难/南了”的流行,是普通网民希望释放生活压力的心理表现。
与“我太难/南了”的商标也不少,可检索到23件“我太难了”商标申请和一件“我太南了”商标,这些商标的申请时间基本上及集中在今年九十月份。


我不要你觉得,我要我觉得
出自2019年暑期热播的综艺节目《中餐厅》。在节目中,作为“店长”的黄晓明以自我为中心,在有关餐厅菜式、采购等事情上,常常不理及其他人的意见,将盲目自信及独断专行表现得淋漓尽致。随后这句口头禅迅速在网上流传开来。“我不要你觉得,我要我觉得”的流行,折射了人们对霸道、蛮横人格的嘲笑和反感。
关于这句典型的“明言”,也有人注册商标。目前可检索到6件,都是同一个自然人申请的,商标申请日期是2019年08月29日,正是今年《中餐厅》热播的时候。

霸凌主义
指横行霸道、恃强凌弱。霸凌主义,指用“霸凌”的方式处理国与国之间的矛盾。美国在处理国际事务时,丝毫不理及国际关系准则,丝毫不考虑其他国家的合理要求,频繁挥舞制裁和关税大棒,动辄施压别国,粗*干暴**涉他国事务。并且连伪装和说辞也不要了,赤裸裸地宣称“美国优先”,要全世界维护美国的利益,为美国买单,给美国让利。引起了世界各国人民的关注。
与“××千万条,××第一条”一样,“霸凌主义”目前并没有人申请商标注册。

从2019年十大流行词的商标注册情况可以看出,我国民众对于热词的敏感度还是非常高的,基本上是这次词汇一火,就有人开始注册商标,时机瞄准的非常好。但是话又说回来,注册这样的商标真的对企业宣传和推广有用吗?
众所周知,商标信誉是指商标在消费者心目中的印象及对商标的评价。要知道商标信誉的基础是商品质量或服务质量,如果没有好的产品或者服务质量,再好听再响亮的名字恐怕也不能为广大消费者所接受。

这里我们不得不思考一下,去申请这些所谓的热点热门网络词汇或者热门影视作品、人物或者名称,就真的能投机带来财富吗?商标抢注的目的是为了吸引大众眼球,博得关注,那公众一定会对此买账吗?相关吸引力会转化为购买力吗?更为重要的是这种盲目注册还会带来一定的社会资源浪费。
而且热门词汇虽然短时间内可以聚集大量的力量,传播速度也很快,但是它也同样有一个弊端,那就是它的热度同样散的很快,注册一枚商标最少需要几个月的时间,可能商标还未注册下来,网络词汇已经“不热”了,那么商家想要利用网路词汇热度宣传的目的也就要落空了。
因此,权小妹建议广大客户申请商标,要理性注册,不能盲目跟风,或者希望凭借某商标一举获利,这些都是不可取的。如果把商标注册也看成一项投资,奉劝良言一句:商标有风险,注册需谨慎!(来源:网络)