当我们想用一张或几张图来描述我们的系统时,是不是经常遇到以下情况:
对着画布无从下手、删了又来?
如何用一张图描述我的系统,并且让产品、运营、开发都能看明白?
画了一半的图还不清楚受众是谁?
画出来的图到底是产品图功能图还是技术图又或是大杂烩?
图上的框框有点少是不是要找点儿框框加进来?
布局怎么画都不满意……
如果你有同样的困惑,今天老男孩就来为大家介绍一种画图的方*论法**,来让架构图更清晰。
在画图之前,我们需要先厘清一些基础概念:
1、什么是架构?
架构就是对系统中的实体以及实体之间的关系所进行的抽象描述,是一系列的决策。
架构是结构和愿景。
系统架构是概念的体现,是对物/信息的功能与形式元素之间的对应情况所做的分配,是对元素之间的关系以及元素同周边环境之间的关系所做的定义。
做好架构是个复杂的任务,也是个很大的话题,本篇就不做深入了。有了架构之后,就需要让干系人理解、遵循相关决策。
2、什么是架构图?
系统架构图是为了抽象地表示软件系统的整体轮廓和各个组件之间的相互关系和约束边界,以及软件系统的物理部署和软件系统的演进方向的整体视图。
3、架构图的作用
一图胜千言。要让干系人理解、遵循架构决策,就需要把架构信息传递出去。架构图就是一个很好的载体。那么,画架构图是为了:
- 解决沟通障碍
- 达成共识
- 减少歧义
4、架构图分类
搜集了很多资料,分类有很多,有一种比较流行的是4+1视图,分别为场景视图、逻辑视图、物理视图、处理流程视图和开发视图。
★ 场景视图
场景视图用于描述系统的参与者与功能用例间的关系,折射系统的最终需求和交互设计,通常由用例图表示。

★ 逻辑视图
逻辑视图用于描述系统软件功能拆解后的组件关系,组件约束和边界,折射系统整体组成与系统如何构建的过程,通常由UML的组件图和类图来表示。

★ 物理视图
物理视图用于描述系统软件到物理硬件的映射关系,折射出系统的组件是如何部署到一组可计算机器节点上,用于指导软件系统的部署实施过程。

★ 处理流程视图
处理流程视图用于描述系统软件组件之间的通信时序,数据的输入输出,折射系统的功能流程与数据流程,通常由时序图和流程图表示。

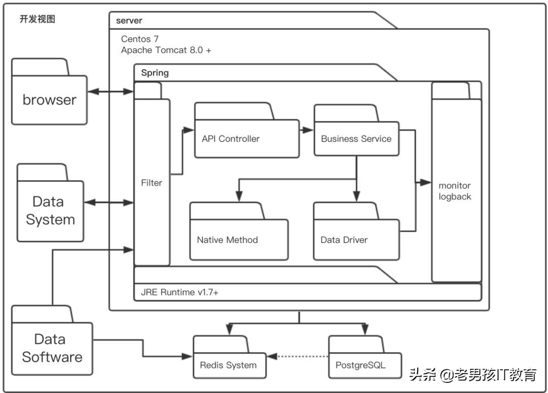
★ 开发视图
开发视图用于描述系统的模块划分和组成,以及细化到内部包的组成设计,服务于开发人员,折射系统开发实施过程。

以上 5 种架构视图从不同角度表示一个软件系统的不同特征,组合到一起作为架构蓝图描述系统架构。
怎样的架构图是好的架构图
上面的分类是前人的经验总结,图也是从网上摘来的,那么这些图画的好不好呢?是不是我们要依葫芦画瓢去画这样一些图?
先不去管这些图好不好,我们通过对这些图的分类以及作用,思考了一下,总结下来,我们认为,在画出一个好的架构图之前, 首先应该要明确其受众,再想清楚要给他们传递什么信息 ,所以,不要为了画一个物理视图去画物理视图,为了画一个逻辑视图去画逻辑视图,而应该根据受众的不同,传递的信息的不同,用图准确地表达出来,最后的图可能就是在这样一些分类里。那么,画出的图好不好的一个直接标准就是:受众有没有准确接收到想传递的信息。
明确这两点之后,从受众角度来说,一个好的架构图是不需要解释的,它应该是自描述的,并且要具备一致性和足够的准确性,能够与代码相呼应。
画架构图遇到的常见问题
1、方框代表什么?

为什么适用方框而不是圆形,它有什么特殊的含义吗?随意使用方框或者其它形状可能会引起混淆。
2、虚线、实线什么意思?箭头什么意思?颜色什么意思?

随意使用线条或者箭头可能会引起误会。
3、运行时与编译时冲突?层级冲突?

架构是一项复杂的工作,只使用单个图表来表示架构很容易导致莫名其妙的语义混乱。
最后希望大家看完此文,都会有更清晰的思路~
老男孩IT,致力于最有用的IT干货分享。期待与您一同进步!后台回复1可获取5000G珍藏大礼包(培训视频、精选软件、内部资料)~让我们一起让IT学习更简单!