
我国以海事命名的大学有两所,一所是211大学——大连海事大学,另外一所是上海海事大学,这所大学是一所双非院校,但地理位置优越,实力也不差。
今天为就简单的介绍一下,分数适合的同学可以参考一下。

一,学校历史
中国高等航海教育发轫于上海。1909年晚清邮传部上海高等实业学堂(南洋公学)船政科开创了我国高等航海教育的先河。1912年成立吴淞商船学校,1933年更名为吴淞商船专科学校。
由于各种原因,吴淞商船学校三度停校,又三度复校。
1950年,吴淞商船专科学校改校名为上海航务学院。
1953年,由上海航务学院、东北航海学院、福建航海专科学校合并成立大连海运学院(现大连海事大学)。
1958年再次复校,1959年正式更名为上海海运学院。
1979年,开始招收研究生。
1998年,成为博士学位授予单位。
2004年,更名为上海海事大学。

二,优势专业
学校目前有48个本科专业,3个博士后科研流动站,4个一级学科博士点,17个二级学科博士点,16个一级学科硕士学位授权点,63个二级学科硕士学位授权点,13个专业学位授权类别。
专业推荐:物流管理、航海技术、机械设计制造及其自动化、轮机工程、航运管理、热能与动力工程、交通运输、交通工程、管理科学、工商管理、国际经济与贸易、会计学、电气工程及其自动化、机械电子工程、物流工程、自动化、电气工程与智能控制。
3个博士后科研流动站:交通运输工程、电气工程、管理科学与工程
4个一级学科博士点:交通运输工程、管理科学工程、船舶与海洋工程、电气工程
工程学科进入ESI全球前1%。
港航物流学科保持全球领先。
5个国家级特点专业:物流管理、航海技术、机械设计制造及其自动化、轮机工程、航运管理。
(此处已添加圈子卡片,请到*今条头日**客户端查看)
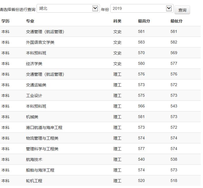
三,录取分数
以下是部分省份录取分数:





四,报考建议
1,学校在上海,虽然有点偏,但校园很美。
2,学校有1个全国示范性工程专业学位研究生联合培养基地。设有水上训练中心,拥有万吨级集装箱教学实习船“育锋”轮,4.8万吨散货教学实习船“育明”轮。
3,学校是以航运为主打的学校,很多专业适合男生报考,在报考时要分清楚专业,如、航海技术、机械设计制造及其自动化、轮机工程等专业,女生谨慎报考,填报是航海技术与轮机工程根本不招女生。
4,海事等专业是学校的优势专业,其他非海事的专业没有海事专业出色,航运管理,交通运输、物流管理等专业也不错,属于海运相关专业。
5,全国一本里面就两所海事大学,尽管专业局限性很大,但竞争会小很多。
6,根据上海海事大学2017年就业质量报告:毕业生5489人,就业率为97.78%。其中研究生就业率为99.40%,就业流向中,前往国有企业最多,占比为27.75%;本科毕业生中,考研学生比例近年来首次突破10%,占11.56%,出国学生占10.19%。
7,学校是上海市与交通运输部共建大学。
我是高考志愿老马,关注我,获得更多的高考填报知识。
也可以在评论区留言,提出你的问题,我用文章和视频解答。
欢迎点赞、评论、转发、收藏!