本文源自知呱呱研究院微信公众号。
炎炎夏季,回家找不到空调遥控器是一件多么扎心的事。一番折腾之后,往往浑身冒汗,空调还没有开启。
假如你使用了智能插座,只需在APP上轻轻一点,或是冲着音箱说声“小爱同学,开启空调”,就可以马上享有阵阵清凉。

智能家居系统能够设定多种模式,比如“回家了”、“用餐”、“出门”、”观看电影”、“睡觉”,等等。
早上出门,一键开启离家模式,客厅的电视、卧室的灯、音箱等就会自动关闭。
晚上回家一进门,灯具和电器全自动开启,你还能马上享用提前做好的晚餐。
晚饭后想看场电影,一键就可以构建出影院的环境气氛。
半夜去卫生间,通往卫生间的灯一个个陆续打开,返回卧室后,身后的灯全部自动关闭。

对于“懒人”来说,坐在沙发上或躺在床上就能轻松地遥控家中全部的灯光效果和电器,而不用四处行走,是一件多么惬意的事!
此外,使用这种智能开关或插座,避免表面接触,还大大降低了感染细菌和病毒的风险。
正是基于此,智能家居用品在全球备受欢迎。

智能国货风靡全球
冲击欧美市场
近年来,智能家居发展越来越快,以智能开关、智能插座、智能灯具等为代表的智能家居产品进入到越来越多的家庭。其中,既有公牛这样的传统品牌,又有像Gosund这样专门做智能插座的行业新锐。
Gosund品牌的创建者——深圳市酷客智能科技有限公司成立于2017年11月,是一家致力于IoT领域的智能插座/插头、智能开关、智能灯泡等一系列智能家居产品及整体智能家居解决方案研、产、销和服务为一体的国家级高新技术企业,也是国内少数几家拥有完全独立自主研发和制造能力的公司之一。

Gosund在全球超过31个国家/地区畅销,经过短短两年多时间的发展,成为欧美市场上的知名智能家居品牌。2019年,Gosund整体营收超过2亿元,相比第一年增长100%。
Gosund最初采取了轻资产的跨境电商运营模式,以亚马逊为核心线上渠道,一步步稳扎稳打,循序渐进地扩张渠道,相继开通美国站、日本站、西班牙站、德国站、意大利站等多个亚马逊站点。
2019年3月,Gosund决定在北美成立洛杉矶分公司,开拓线下市场,进一步完善渠道布局。
就在Gosund一路高歌进军海外的时候,被一家澳大利亚公司盯上了。

树大招风?
Gosund在美国被诉专利侵权
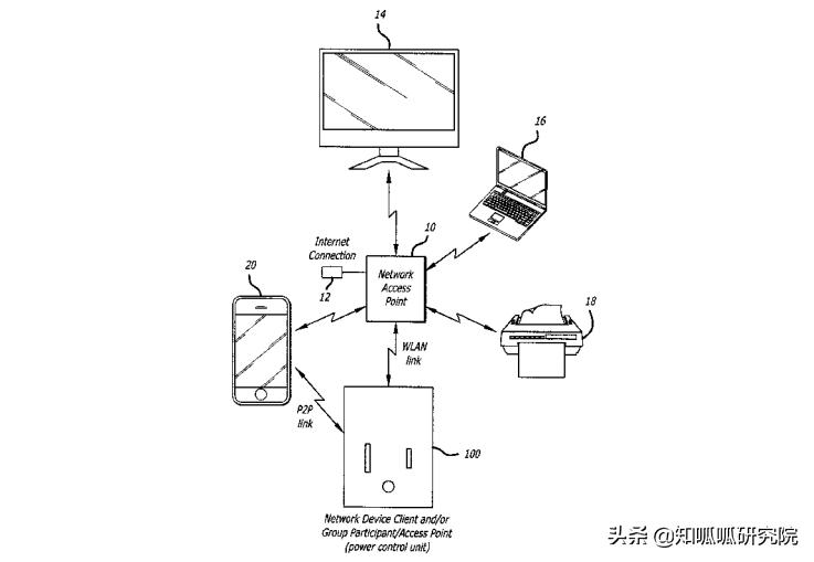
据法律犀牛报道,近日,Kortek工业有限公司向美国德克萨斯州西区地区法院提起了对深圳市酷客智能科技有限公司的专利侵权及损害赔偿诉讼。诉讼中的专利包括美国专利号9,465,377、9,590,427和10,429,869。


专利名称分别为:Wireless power,light and automation control(无线电源、照明和自动化控制),Adaptable wireless power,light and automation system(适应性无线电源、照明和自动化系统),Wireless power,light and automation control(无线电源、照明和自动化控制)。


据悉,Kortek公司是澳大利亚一家股份有限公司(私有)。Kortek生产用于构建云连接系统的传感器,控制器和网关,其中安全性和可靠性至关重要。


全球布局
多项专利“闯天下”
Gosund官网资料显示,通过对智能家居领域的不断研究,公司获得了多项技术专利,其产品还通过了FCC,ETL,WEEE,CE,Rohs,PSE,ISO9001等认证。

我们经检索得知,深圳市酷客智能科技有限公司目前拥有十余件专利,而含金量最高的发明专利,目前仅仅有一件“一种自动夹紧式安全插座”获得授权,其余几件尚处于公开状态,包括“双控开关、双控控制系统以及控制方法”、“一种智能LED灯调光控制装置及智能LED灯”、“一种智能灯带及其控制方法”等。

总体来看,该公司专利申请时间比较晚,自2018年5月以后才陆续开始申请,目前已经有几件实用新型和外观设计专利获得授权。而Kortek公司的三件专利,分别于2016年10月、2017年3月、2019年10月已经获得授权。

专利的数量少,申请时间晚,只是问题的一个方面。更严重的是,由于专利具有地域性特点,在哪个国家或地区获得授权,就在该国家或地区受到保护。因此,只有在美国申请了专利并获得授权,才能获得美国相关法律保护。
那么,Gosund在美国申请专利了吗?

Gosund是品牌名称,公司的英文名称为:Shenzhen Cuco Smart Technology Co., Ltd.我们分别以“Gosund”和“Shenzhen Cuco”为关键词,在美国专利商标局网站进行检索,结果真的有发现!


该公司已经获得5件美国外观设计专利,包括“智能插座”、“墙壁插座”等。




由此我们猜想到,Gosund可能也会在欧洲申请专利。果不其然,我们从欧洲专利局网站检索到,该公司申请了6件专利,包括“智能插座”、“双控开关、双控控制系统以及控制方法”、“一种智能提醒装置”等,它们分别是国内专利以及美国专利的同族专利,享有相应的优先权。

由此可见,Gosund还是非常注重专利的全球布局与保护。至于是否侵权,还要看涉案产品是否落入他人的专利权保护范围,因此要等法院最终判决。
企业出海
知识产权先行
提到插座领域的专利战,“插座一哥”公牛集团遭遇的“中国最贵专利侵权案”,曾引起业界轰动。今年4月,历时近2年后终于尘埃落定。公牛集团胜诉,10亿索赔被判无效。
2020年2月,公牛集团在上海证券交易所主板挂牌上市,标志着公牛集团正式迈入资本市场。
没想到吧,一只小小的插座,竟然催生出一家上市企业。

随着中国制造业转型升级加快,中国的消费品被越来越多的海外用户接受。越来越多的国货出口到海外,受到全球用户的追捧与喜爱。
然而,企业即使在国内没有遇到专利侵权纠纷,而一出口到海外却难免产生专利纠纷,被指控专利侵权,甚至被查扣、封存、责令赔偿。其根本原因就是专利具有地域性特点,在哪个国家或地区获得授权,就在该国家或地区受到保护。因此,提前通过专利布局,进行专利的地域组合保护时不我待。
近些年频发的全球专利战,也使我国企业意识到自主品牌在海外拓展市场,必须预先进行海外专利布局。只有拥有一定数量且布局合理的海外专利,在面对专利纠纷时才有足够的谈判筹码。
一吐为快
事因:三星电子再遭遇专利诉讼纠纷。日前,日本OLED显示器制造商JOLED向美国得克萨斯州西区地区法院提出诉讼,表示三星侵犯了其OLED专利,要求三星提供侵权赔偿等补救措施。JOLED还向德国曼海姆地区法院提出了申诉,要求三星开展补救措施,如对三星电子及其在德国的当地子公司发出对专利侵权产品的禁令。

问:你如何看待三星涉嫌专利侵权?
答:华为笑了!
PS:看了以上内容,您或有“不吐不快”
速到评论区“一吐为快”吧!