已经退出理财业务的网易还是没躲开P2P危机,和光大证券、海航旅游、凤凰卫视等共同踩到了三胞集团的雷,但在这634亿的债务危机里,银行才是最大的债权人。
编者按:本文来自“全天候科技”,作者杨泳洁。
已经宣布退出理财业务的网易又遇到了麻烦事,同样遭殃的还有光大证券、海航旅游等。
日前,互联网理财平台立马理财向投资人发布通知称,旗下三款理财产品“嘉康盈/嘉顺盈/嘉恒盈”将于2018年11月20日开始陆续到期,但因为融资主体三胞集团资金链紧张,无法按期回购。
企查查显示,立马理财是一款P2P理财产品,所属公司光大易创由网易、光大证券、海航旅游联合投资。虽然网易丁磊已与今年5月份退出,但当时立马理财业务已经停摆,目前涉及到的项目于丁磊担任立马董事期间立项。

据行业人士透露,“嘉顺盈”理财计划总规模为2亿元,产品分期发行,单期产品持有人数不超过200人。产品期限“不超过546天”,预期年化收益率7.5%,5万元起购。
值得注意的是,产品说明书上显示此款理财为“低风险”产品,风险测评中“保守型、稳健型”等投资者均可购买。
三胞集团逾期涉及到的P2P并不只立马理财一家,还有凤凰卫视旗下的投资理财平台凤凰金融。
三胞集团《致凤凰金融平台函》显示,三胞集团通过平台融资的借款已于2018年13日起陆续到期,但因近期公司流动资金紧张,不能如期归还陆续到期的借款。三胞集团承诺最晚将于2018年12月31日14点前归还2018年11月份到期的借款本息。

但12月31日未到,投资人收到通知本息再次延期至2019年6月30日兑付。
三胞集团坑骗的也不只是P2P项目,主要债权人是银行。据财新报道,目前三胞集团的总债务超过600亿元,金融债权大约200亿元,最大的债权人为中信系,中信银行、中信信托、中信证券三家债务敞口合计70亿元,南京银行敞口50亿元。
公开资料显示,截至2018年6月30日,三胞集团资产总计超过897.08亿元,其中流动资产合计超过457.30亿元,非流动性资产合计超过439.77亿元(商誉约179.33亿元)。
财务报表显示,三胞集团负债合计超过634.28亿元,其中流动性负债合计超过443.98亿元,非流动负债合计超过190.30亿元。
三胞集团疯狂“买买买”至破产
提到三胞集团,很多人最先想到的是电脑连锁品牌宏图三胞。事实上,宏图三胞只是三胞集团的一个品牌。
官网信息显示:三胞集团有限公司,是一家以信息化为特征,以现代服务业为基础,新健康与新消费两大主业协同发展的大型跨国民营企业集团。集团连续第15年入围“中国企业500强”(2018年第122名)。
集团现拥有宏图高科(600122. SH)、南京新百(600682. SH)、金鹏源康(新三板430606)、富通电科(新三板837438)等多家上市公司,以及宏图三胞、广州金鹏、安康通、以色列纳塔力(Natali)、美国丹瑞(Dendreon)等国内外重点企业,全球员工总数超过10万人,其中海外员工达1万人。
从坐拥多家上市公司和10万名员工的IT霸主到负债634亿,三胞集团这条路走得非常坎坷。
三胞集团创始人袁亚非最早是南京市雨花台区的机关秘书。1993年,袁亚非辞职经商,加入当时的“下海潮”。当时创业并非易事,很多人希望能“榜上大款”,这也是“三胞”的由来,指当时“富商”的代表——侨胞、台胞和港澳同胞
袁亚非拿着2万元,从南京珠江路电脑城的一个靠厕所的铺面起步,把电脑生意迅速做大,租下了半个电脑城,扎实的赚到了第一桶金。
1999年,袁亚非从沃尔玛的一站式购齐中得到启发,创建标准化连锁大卖场。他也因此吸引了当时宏图高科的董事长刘晓峰。2000年,双方达成合作,创建宏图三胞,三胞控股55%,当年的销售额就达到5亿。
2002年,宏图三胞销售额15亿。2007年,全国门店达70家, 销售额70亿,成为IT行业当之无愧的霸主。
至此三胞集团踏上了快车道,袁亚非谋求转型,决定以协同为核心,以并购为手段,以市值为结果,走上大举扩张并购的大道。
2005年,三胞公司借国企改制潮流入主上市公司宏图高科,2011年2月,三胞集团又从金鹰系王恒手中买下南京新百控制权。2014年后,跨国并购热潮兴起,三胞集团在海外“买买买”之后,资产从300多亿迅速扩张至一度接近千亿,袁亚非本人在胡润百富榜的排名也在3年里攀升了五十多位,从2014年的92位跃升为2017年第39位。

但这些横跨境内外的收购运用了大量并购*款贷**和各类杠杆融资,使三胞集团的债务负担迅速攀升。同时,三胞当时买入的很多项目并不盈利——麦考林连续巨亏,于2016年从纳斯达克退市;美国零售商巨头Brookstone宣布破产;英国百货HoF则在6月进入破产保护,半数门店关闭。
随着战线不断拉长,三胞集团开始逐渐感受到资金链压力,陷入流动性危机,债务问题频发。袁亚非为此提出了“100亿瘦身计划”,开始做“减法”,出售或清理现有资产,2018年年底将实现100亿回笼资金。
市场没能等到那一天。
2018年6月,三胞集团对雨润集团的5.5亿元担保逾期,和南京新百收购复牌后的连续跌停,直接推倒了三胞流动性危机的多米诺骨牌。
7月16日,和合资管公告称,由于三胞集团未能在约定时间内支付全部回购价款总额,导致“和合资管-安盈保6号三胞集团集合资产管理计划”未能如期获得本金和投资收益,构成实质违约。
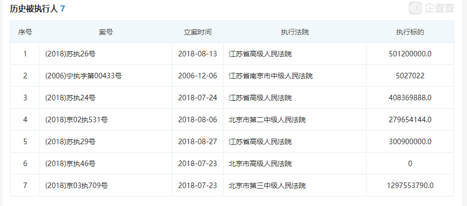
7月23日-8月13日,三胞集团被北京及江苏两地的法院列为被执行人七次。

随之带来的影响是在资本市场评级下降。评级机构中诚信国际将三胞集团主体及债项评级从AA下调至AA-,并将公司主体及债项信用等级列入信用评级观察名单。
8月,三胞与新光等几家深陷债务危机的企业,一度卷入大公国际违规收取高额咨询费,买卖评级的债券评级黑幕。
11月20日,爆出由海南股权交易中心管理、互金平台立马理财销售的三胞集团“嘉康盈/嘉顺盈/嘉恒盈”理财计划,由于三胞集团流动资金紧张,将延期回购。
据财新报道,9月5日,由江苏省政府牵头召开的三胞集团金融债委会成立大会召开。会议上,三胞集团袁亚非曾喊话金融机构,按照“谁家孩子谁抱走” 的原则,对于银行承销的债券,希望由承销银行表内*款贷**承接。对于券商承销的非银行认购部分,寄望债委会协调新增120亿资金,进行兑付。
显然这一目标并未达成,随着事态的演变,三胞集团的债务金额也逐步扩展到了634亿。
据三胞集团的知情人士透露,三胞集团在南京拥有多处地产,南京市中心最繁华商圈——新街口商圈一半的商厦(新百商场、国际金融中心、东方福来德)都姓“袁”,资产价值远超600亿,如果变卖应该能堵住漏洞。
但一旦卖房卖地,三胞就凉了。三胞作为南京当地的明星企业,解决了大量就业,政府很难让三胞就此垮掉。
袁亚非在今年1月做客《波士堂》时曾说,如果人生要重来一遍,他不太会走这条路,因为太难走了。
不知道现在他是否还想的起这句话。