有的人可能会说二合一电脑Surface Pro和平板iPad本来就不是一个事情,拿到一起对比不成立。但小黑认为,移动时代早已打碎设备之间的界限。从购买一台轻巧便携的个人计算设备的角度,两者是完全可以相互替代,拿来比较的。
今天,我们就拿Surface Pro 7与iPad Pro (第三代, 12.9英寸)来对比一下。iPad Pro (第三代, 12.9英寸)是2018年10月发售的,并不算新品。最新的*四代第**刚刚于2020年3月份发布,这个不是今天的主角,我们改天再聊。
怎么叫?
大家对于Surface Pro和iPad有一些略有差异的叫法。比如平板、平板电脑、笔记本、二合一电脑等等。
从各自的特性出发,小黑其实更愿意叫Surface Pro为二合一笔记本,而iPad Pro为平板。“二合一笔记本”和“平板”分别指出了这两种个人计算设备的特质。卖个关子,请大家自行先揣摩一下。
另,在某东上称iPad Pro为二合一平板。
外观、屏幕、重量

从外观来讲,两者都是大家熟悉的、它们应该有的样子。
Surface Pro 7保持了一贯的独树一帜的支架设计。Surface Pro 7有两个配色:亮铂金和典雅黑,简约大方。2012年的设计放到今天还是充满时尚感和科技感。所以女性买家会喜欢。
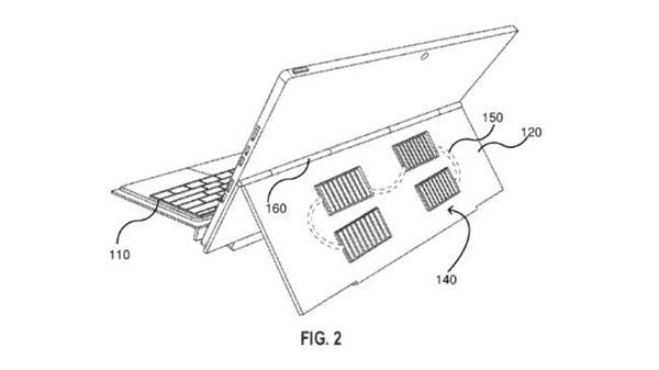
此外,据说在2018年微软已经拿到一个在支架和Type Cover键盘上安装太阳能电池的专利。只是目前尚不知何时会应用。显然,此设计将进一步提升Surface Pro的续航能力。

Surface Pro 7重量为1.7Kg。这个数据还不包括键盘。比起iPad Pro肯定是重不少,但是在二合一笔记本里面算是非常优秀的了。
Surface Pro 7是12.3英寸的PixelSense显示屏,2736 x 1824的分辨率,像素密度为267ppi。亮度为400尼特(此类设备均值为348尼特)、60Hz刷新率,覆盖sRGB色域的102%。

iPad Pro第三代有两种配色:深空灰和银色。相比第二代,外观倒是有不少变化。学习iPhone X取消了Home键,但没有学iPhone X的刘海屏。没有Home键,也就意味着用户需要学习一些新的手势。当然这一切都不是问题。如果你已经熟悉了iPhone X系列,更是驾轻就熟。
边框也变小了,比Surface Pro 7的边框小。整体上,iPad Pro第三代比第二代,更轻、更薄。
第三代尺寸为280.6 mm ×214.9 mm ×5.9 mm,Wifi版重631g。
第二代尺寸为305.7 mm ×220.6 mm ×6.9 mm,Wifi版重677g。
iPad Pro第三代在屏幕上与第二代几乎完全一样,毫无惊喜,但比Surface Pro略强。12.9英寸Retina显示屏,2732 x 2048分辨率,264ppi,最高亮度600尼特,120Hz刷新率,覆盖sRGB色域的128%(高于Surface Pro的102%,因此会更加鲜艳)。
键盘
Surfac Pro的Type Cover键盘是该产品在外观设计中除了支架之外,最亮眼的地方了。首先,有很多配色可选:波比红、冰晶蓝、亮铂金、典雅黑、灰钴蓝、深酒红。这正是吸引了很多女性买家的杀手锏之一。

此外,Surface Pro 7的Type Cover键盘采用了一项新专利。该专利把触控板集成到键盘的电路中。这样键盘更薄。

iPad Pro官配是Magic Keyboard和Smart Keyboard 。首先从直观的角度,与Type Cover比,没有触摸板。这也是为什么说iPad Pro是二合一平板而不是二合一笔记本的原因之一:在笔记本使用体验上有缺失。

Magic Keyboard是全尺寸键盘,比Smart Keyboard更适合打字。Magic Keyboard通过蓝牙连接来配对,需要充电,重231g。而Smart Keyboard可折叠,还能当iPad Pro的保护套使用,不需要电池也不需要蓝牙匹配,重640g。也就是说Smart Keyboard不止是键盘还是保护套,一举两得是它最大的优势。

性能:CPU与存储
外观、键盘这些都是面上的事情。CPU和存储是内在最重要的两个指标。
Surface Pro 7最高配为十代i7、内存16g、SSD 1TB(国内好像没见到)。iPad Pro第三代为苹果自己的A12X仿生、最高6GB RAM和1TB SSD存储。
在Geekbench 4.1基准测试中证明了笔记本电脑级别的性能,其中iPad Pro得分为17995。Surface Pro 7(10代Core i5-1035G4、16GB RAM)得分为17225。它们超过该类别的平均值13796。
连接性
有线连接能力,Surface Pro 7更好。支持USB-C,USB-A和3.5mm耳机插孔,以及两个专用接口Surface Connect和Type Cover。iPad Pro只有USB-C。当然可以通过适配器扩展USB-A或3.5mm连接器。

无线连接能力,iPad Pro更好。iPad Pro支持Wi-Fi(802.11ax),蓝牙5,GPS,4G LTE。Surface Pro 7只有Wi-Fi和蓝牙。

电池与续航
购买这两种设备的潜在客户一定具有很强的移动特性。所以续航能力就非常重要了。这方面,两者的官方数据不相上下。
iPad Pro36.7Wh的电池续航10小时。Surface Pro 745Wh的电池续航10.5小时。但苹果的A12X效能可能会更高,因此实际使用中iPad Pro会比Surface Pro更持久一点。
有人做过一个测试,也证明了这一点。在屏幕亮度150尼特下用Wi-Fi上网。Surface Pro能坚持七个半小时,而iPad Pro则为13小时14分钟。
其他
iPad Pro因为没有Home键所以不支持指纹解锁,但支持面部解锁,不过有个稍微尴尬的事情。
对比手机,我们一般的操作姿势是拿在手中。这样就自然地让人脸与摄像头之间垂直相对。这个角度是有利于面部解锁的角度。但当我们使用平板的时候就有点尴尬。因为平板的重量,将它放在桌子上使用是个常规操作。特别是你从其他地方回来需要解锁进入的时候,iPad通常会平躺在桌面上。此时,摄像头与人脸之间不是直接相对的。也就是说你需要把身子前倾,或者把平板拿起来才能实现解锁。因为没有Home健了,所以不想输入密码的话,你还真的需要一个正确的解锁姿势。
价格
重点来了!
iPad Pro第三代的CPU都是一样的。低配64G Wlan版为¥7890。下一级配置256G Wlan版为¥9059。适配12.9英寸的Smart Keyboard售价为¥1599。而Magic Keyboard不到¥1000。
Surface Pro 7性能与iPad Pro低配版接近的配置i5 8G 128G,价格为¥6988。加一个键盘,价格为¥7762。
到底如何抉择
说了这么多,还没说为啥Surface Pro被称为“女人的笔记本”。其实原因已经在文中提到过。时尚的外形、漂亮的键盘、轻薄的机身、较长的续航。这些特点在所有其他笔记本选项中让Surface Pro脱颖而出,更能打动女性买家。特别是前两点!
同样,这些特质也可作为是否要购买Surface Pro的重要参考。此外,在iPad Pro没有全面压制Surface Pro的情况下,后者性价比会更高。
微软 Surface Pro 7 二合一平板电脑笔记本 | 12.3英寸 第十代酷睿i5 8G 128G SSD 亮铂金
¥6988
购买
再来看iPad Pro,虽然比Surface Pro更轻薄,但生产力不如Surface Pro。但作为娱乐设备会强过Surface Pro。
如果你需要一台更强劲的工作设备,或者长期使用Windows生态,那么Surface Pro是更好的选择。否则选iPad Pro吧。
Apple iPad Pro 12.9英寸平板电脑 2018款(64G WLAN版/全面屏/A12X/FaceID MTEL2CH/A)深空灰
¥7890
购买
系列文章:
微软根正苗红Surface Pro为何没像iPad那样大卖?是平板还是电脑
为了家庭和谐,微软Surface还是华为小米更能赢得女人心?