知识框架
一、长方体
1、特征:
面:6 个面都是长方形(有时有两个相对的面是正方形)。相对的面互相平行且 面积相等
棱:两个面相交的边叫做棱。12 条棱中相对的 4 条棱(互相平行) 长度相等。
顶点:三条棱相交的点叫做顶点。有 8 个顶点。
二
计算公式
长方体棱长=(长+宽+高)×4;l=(a+b+h)×4
长方体的表面积=长×宽×2+长×高×2+宽×高×2;S=ab×2+ah×2+bh×2
长方体的表面积=(长×宽+宽×高+长×高)×2;S=(ab+ah+bh)×2
长方体的底面积=长×宽;S=ab
长方体的侧面积=底面周长×高;S=2(a+b)h
长方体的侧面积=2×(前面+左面);S=2(ah+bh)
长方体的体积=长×宽×高;V=abh 长方体的体积=底面积×高;V=Sh
三
正方体(特殊的长方体)
1、特征:
6 个面都是正方形且 6 个面的面积相等; 12 条棱且棱长都相等; 8 个顶点
2、计算公式
正方体的表面积=底面积×6=棱长×棱长×6;S=6a2
正方体的体积=棱长×棱长×棱长;V=a×a×a=a3
经典练习
一、填空题
1、如图是由棱长为 1 厘米的小正方体拼成的立体图形,它的表面积是 _____ 平 方厘米。


2、如图是一个棱长为 10 厘米的正方体.在正方体的上面的正中向下挖一个棱 长为 4 厘米的正方体小洞;接着在小洞的底面正中再向下挖一个棱长为 2 厘米 的小洞;第三个小洞的挖法与前两个相同,棱长为 1 厘米.则最后得到的立体图 形的表面积是 _____ 平方厘米。



3、甲水池的底面是一个边长为 20 米的正方形,其中水深 5 米,乙水池是一个 底面积为 100 平方米的空水池。将甲水池的水抽一部分到乙水池使得它们的水 深相同,这时水深 _____ 米。
4、用棱长为 2 厘米的小正方体黏合而成的立体图形,从正面、侧面、上面看到 的视图均如下图所示,那么这个立体图形的体积最大是 _____ 立方厘米。


5、如图,该图形的表面积是 _____ 。



6、用两个长 3 厘米、宽 2 厘米、高 1 厘米的长方体,拼成一个长方体,这个长 方体的表面积最小是 _____ 平方厘米。

7、用一根 48 厘米的铁丝焊接成一个正方体框架(接头处不计),并在表面糊上彩 纸,至少需要彩纸 _____ 平方厘米。

8、棱长 4cm 的正方体,切成两个相同的长方体后,表面积增加 _____ cm²。
9、如图所示的长方体中有一些水,将它以三种不同的方式放置在水平桌面上时, 水面与上面的最大距离是 3 厘米。容器中有水 _____ 立方厘米。

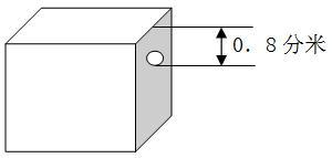
10、如图,这个无盖长方体铁皮水箱的容积是 40 升,底面面积是 10 平方分米, 距箱口 0.8 分米处出现了漏洞,现在这个水箱平放在地面上,最多能装水 _____ 升。(铁皮厚度不计)

11、将一块长 30 厘米,宽 24 厘米的长方形铁皮剪裁并做成一个无盖的长方体 盒子(棱长都为整厘米数),这个盒子的容积最大是 _____ 立方厘米。
12、一个长方体,如果长减少 3 厘米,宽和高不变,它的体积减少 54 立方厘米; 如果宽增加 5 厘米,长和高不变,它的体积增加 120 立方厘米;如果高增加 2 厘米,长和宽都不变,它的体积增加 96 立方厘米。原来长方体的表面积是 _____ 平方厘米,体积是 _____ 立方厘米。
13、在一个棱长为 20 厘米的正方体容器的下底固定一个实心长方体,当容器内 盛有 m 升水时,水面恰好经过长方体的上底面。如果将容器倒置,长方体有 8 厘米露出水面。已知长方体的底面积是正方体底面积的 1/8 ,则实心长方体的体积是 _____ 立方厘米,容器内装有 _____ 升水。

14、一个足够深的长方体水缸,底面是长为 40 厘米,宽为 20 厘米的长方形, 其中装有 10 厘米深的水和 10 厘米深的油(油在上,水在下),现将一个长 20 厘 米,宽 8 厘米,高 20 厘米的长方体钢坯垂直放入其中,此时油层的高度是 _____ 厘米。

15、一个长方体,长增加 5 厘米后就成了正方体,表面积增加了 160 平方厘米, 这个长方体的体积是 _____ 立方厘米。

16、把 1 个棱长是 7 厘米的正方体表面喷上红色的油漆,再将其分割成棱长为 1 厘米的小正方体,这些小正方体中有_____个小正方体表面没有红色油漆。
17、如图,把 11 块相同的长方体砖块拼成一个大长方体,已知每块砖的体积是 60 立方厘米,则大长方体的表面积是 _____ 平方厘米。

18、将长、宽、高分别是 4 厘米、3 厘米和 2 厘米的长方体沿着棱长剪开成展 开图,周长最小是 _____ 厘米。
19、一个长方体的宽和高相等,且等于长的一半,将这个长方体切成 12 个小长 方体,这些小长方体的表面积之和为 864 平方厘米。则原来大长方体的体积为 _____ 立方厘米。



20、棱长为 10 厘米的正方体容器中有 4 厘米深的水,将长、宽、高分别是 4 厘 米、5 厘米、6 厘米的长方体铁块竖直放置其中,这时水深 _____ 厘米。
二、选择题
1、如图,用 8 个大小相同的小正方体搭成了一个立体图形,已知每个小正方形 的面积是 1 平方厘米,那么这个立体图形的表面积是( )平方厘米。


A、 28 B、 30 C、 32 D、 40

2、一个长 6 分米,宽 4 分米,高 5 分米的长方体盒子,最多能放( )个棱长 是 2 分米的正方体木块。
A、 5 B、 14 C、 12
3、有一个正方体,六个面上分别写着数字 1、2、3、4、5、6,有三个小朋友 从不同的角度观察的结果如下图所示,这个正方体写着数字 3 的对面是数字 ( )。

A、 1 B 、 2 C、 6 D、 5
4、一个正方体的 6 个面分别标有 A、B、C、D、E、F,那么与 D 相对的面是( )。

A、 A B、 B C、 C D、 E

5、有一个长 25 米,宽 10 米,深 1.6 米的潜水池,在潜水池的四周和池底砌瓷砖, 如果瓷砖的边长是 1 分米的正方形,那么至少需要这种瓷砖( )块。
A、 362 B、 612
C、 36200 D、 61200

6、把一个棱长为 16 厘米的正方体切成若干个棱长是 4 厘米的小正方体,那么, 这些小正方体的表面积之和是( )平方厘米。
A、 4936 B、 5032
C、 5792 D、 6144

7、把一个正方体的棱长扩大 2 倍,它的体积扩大( )倍。
A、 2 B、 4 C、 8 D、 16

8、有一个表面积是 288 平方厘米的长方体,如果用一个平行于底面的平面将它 截开,可以得到一个正方体和一个小长方体,它们的表面积的和为 360 平方厘米,那么原来长方体的体积是( )立方厘米。
A、 288 B、 382 C 、360 D、324

9、有甲、乙两个无盖的玻璃容器,甲容器的长是 12 分米,宽是 8 分米,里面 盛了 5 分米高的水,乙容器的长是 10 分米,宽是 10 分米,高是 8 分米。如果 将甲容器中的水倒入乙容器中,水面距离容器口( )分米。
A、 4.8 B、 3.2 C、 2.4 D、 4.2

10、有一块棱长是 5 厘米的正方体铁块,浸没在一个长方体容器的水中。取出 铁块后,水面下降了 0.5 厘米,这个长方体容器的底面积是( )平方厘米。
A、 62.5 B、 250
C、 625 D、 无法计算

11、长方体的高是最小的奇数(单位米),宽是最小的质数(单位米),长是 最小的合数(单位米),这个长方体的体积是( )。
A、28 平方米 B、8 立方米
C、80 立方分米 D、 12 立方米

12、用 112cm 长的铁丝捍成一个长方体框架,长是宽的 3 倍,宽是高的 1.5 倍, 求这个长方体的长、宽、高各是( )cm。
A、 18、6、4 B、 20、6、2
C、 16、8、4 D、 9、3、2
13、有一块棱长是 4 分米的正方体铁块,现在要把它重新熔铸成如图所示的长 方体,要使长方体的横截面积是 500 平方厘米,这个长方体的长是( )厘米。


A、 108 B、 96 C、 128 D、 144
14、下图是一个长方体纸盒的展开图(单位:分米),它的表面积是( )。


A、 200 平方分米 B、 520 平方分米
C、 700 平方分米 D、 1400 平方分米
15、下列各图中,能沿虚线折成正方体的有( )。


A、 ①④⑥ B、 ①③④⑥ C、 ①③④⑤⑥ D、 ①②③④⑤⑥
三、简答题
1、一个长方体,如果高增加 2 厘米就成了正方体,而且表面积要增加 56 平方 厘米,原来这个长方体的体积是多少?
2、如图,如果把这个长方体完全沉没于盛满水的水槽中,会有多少水溢出?如 果要包装这个盒子,至少需要多少平方厘米的包装纸?(单位:厘米)

3、一个棱长为 30 厘米的正方体铁块,在 8 个角上各切下一个棱长为 10 厘米的 小正方体,如图所示,将其投入底面积为 2500 平方厘米,高为 50 厘米的长方 体容器内,已知原来容器内水面高度为 20 厘米,那么,放入铁块后水面高度变为多少?

4、把一块棱长是 12 厘米的正方形冰块放入一个长 20 厘米,宽 15 厘米,深 10 厘米的长方体容器中融化,待冰完全融化后水的高度是多少厘米?(已知冰融化后体积减少 1/12 )
