天津大学,东南大学,大连理工大学,这三个大学谁牛?谁档次高?
这个问题很有意思,也很无聊,天津大学,东南大学,大连理工大学现在都是教育部直属的211/985全国重点建设大学,世界一流建设大学a类高校,所以是一个档次,但是细分的话就不一定了。
到底这三个大学谁牛谁不牛呢?
从历史上讲,天津大学最牛,东南大学次之,大连理工最后。
天津大学起源于国立北洋大学,所以历史上最牛,而东南大学只是集成了国立中央大学的一小部分而已

目前天津大学是国立北洋大学的唯一继承人,而对于中央大学的继承权,*京大南**学,东南大学,江南大学,南京师范大学,南京工业大学,南京农业大学等十来所大学都在抢。所以天津大学档次高那么一点点。
建国后呢,天津大学档次就更不一般了。

1959年,天津大学被国家定为16所全国重点大学之一,而且是综合性工科大学,不是一般的工学院,而当你东南大学和大连理工大学还不是全国重点大学,所以天津大学当你是最牛的。
1960年,终于南京工学院和大连工学院也被选为全国重点大学之一,

南京工学院,华中工学院,大连工学院,华南工学院因此被称为“四大工学院”,当你四大工学院档次名校不如天津大学名头大。

所以曾经,天津大学是最牛的,不过风水轮流转,说你牛那不一定一直牛。
1981年首批博士点,
天津大学(9个) :实验力学 机械制造 测试计量技术及仪器 焊接 内燃机 电力系统及其自动化 化学工程 有机化工 系统工程 南京工学院(7个) :铸造 通信与电子系统 电子物理与器件 建筑设计 建筑历史与现代建筑理论 结构工程 自动控制理论及应用 大连工学院(7个) :计算力学 机械制造 内燃机 水工结构工程 化学工程 精细化工 系统工程
1981年时,天津大学和东南大学,大连理工大学实力已经相差无几了。
2021年,这三所大学的经费也可以看得出来,谁实力强谁实力弱,2021年经费预算,东南大学107亿,天津大学76亿,大连理工大学72亿,这说明东南大学已经成为事实一哥了。

看经费东南大学最牛,那么学科评估呢?
东南大学共有31个学科参评,12个学科进入A类。评估结果是A+的学科5个、A的学科1个、A-的学科6个。东南大学获得A+的学科数并列全国高校第八,位列江苏高校第一。
其中,建筑学、土木工程、交通运输工程、生物医学工程、艺术学理论等五个学科评估结果为A+;电子科学与技术学科评估结果为A;仪器科学与技术、信息与通信工程、控制科学与工程、城乡规划学、风景园林学、管理科学与工程等6个学科评估结果为A-。

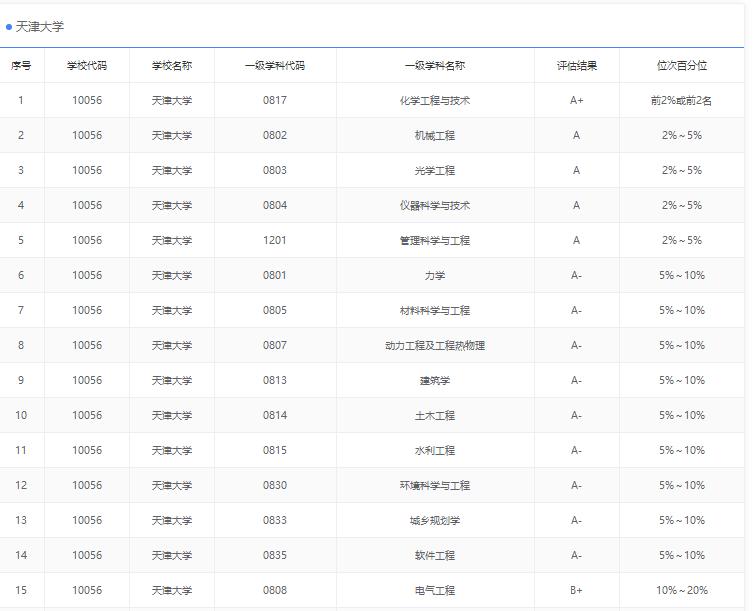
天津大学呢?天津大学学科成绩就比较尴尬了,作为老牌大学,也是建筑老八校,结果建筑学科被东南吊打,只有一个A+学科,实在没面子啊。

当然毕竟天大还有A+学科,而大连理工大学已经成为没有A+的985院校了,a类学科也只有7个,和天津大学的14个,东南大学12个比差距甚大啊。

基本上,现在东南大学最牛,天津大学次之,大连理工大学已经落后。
目前从城市看,大连一天不如一天,天津市第二个东北,南京却蒸蒸日上,大学的发展也是城市发展的缩影啊。

老铁们,你们怎么看?