8月26日消息,三星电子因发明专利权无效行政纠纷一案,不服判决,不服相关被诉决定,行政诉讼,相关一审行政判决书近日公开。法院查明,本案涉及的专利为 " 显示通信*功中**能的方法和通信终端设备 ",华为曾向专利复审委员会提出了无效宣告请求。

法院认为,本专利权利不具有创造性及区别特征,依法驳回三星的诉讼请求。此外,判决结果还显示,本次案件受理费人民币一百元,由原告三星电子株式会社负担(已交纳)。

据了解,引发本次案件的专利是一则三星在 2004年5月21日申请的 " 显示通信*功中**能的方法和通信终端设备 " 发明专利,是一份应用于功能机的专利方案。其中包括,电话号码簿、发送 / 接收音量控制、传输音拦截和键音控制等功能,但法院认为,事实上,上述通信*功中**能在本专利申请日之前的确已经属于本领域公知常识。

不过,目前本案件裁判结果还不算终审裁决,如不服本判决,原告三星电子株式会社可在本判决书送达之日起三十日内,向同一法院提交上诉状及副本,并交纳上诉案件受理费人民币一百元,上诉于中华人民共和国最高人民法院。
这并非三星第一次起诉华为失败。事实上,三星和华为此前曾多次在法庭交锋。
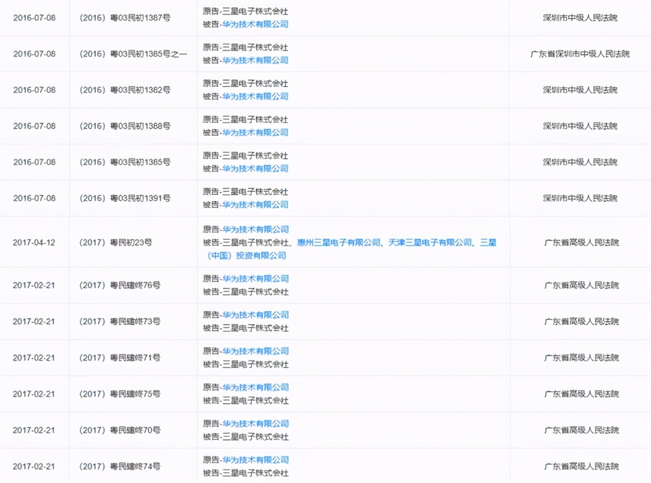
在2016年三星和华为的专利大战中,三星共计有10件专利被判无效。
2017 年 4 月份,泉州中院受理过华为诉三星专利侵权案件,当时判定三星侵权并赔偿 8000 万元。
2018年1月11日,深圳市中级人民法院知识产权法庭就华为起诉三星侵犯知识产权案作出一审判决,被告三星立即停止以制造销售和许诺销售的形式,侵害华为专利权的行为,驳回华为的其他诉讼请求。法院判决认定华为公司享有涉案的两项权力 4G 手机有关的专利,法院认定三星构成侵权,判定立即停止侵权,禁止以制造、销售、允诺销售等方式继续销售侵权产品,由三星公司承担诉讼费用。

2021年6月份,三星同样因为一项3GPP通信专利被判定无效而起诉华为,但法院判决结果依然是依法驳回三星的诉讼请求。
据天眼查App显示,近5年来,三星与华为的官司纠纷多达30起,大部分都是涉及侵害发明专利方面。

然而,全球5G专利最不可动摇的“王者”正是华为。据NGBCorporation报告显示,全球共计有29586件专利,其中中企独占超38%份额,华为则傲居全球第一。而且, 今年3月16日,华为首次宣布,将对三星、苹果、高通等巨头收取5G专利费。
