
近日,轻松教育全新上线【任务评价管理】系统。任务评价管理是指学校老师发布任务,学生完成任务并进行反馈,老师对学生完成的情况进行评价打分的一套便捷高效的系统。
系统包括多个客户端版本应用,包含PC端(用户后台,拥有任务评价管理模块的老师)、移动端(普通老师、家长)和电子班牌(老师、学生)。
以下就系统的功能模块作具体阐述:
用户后台
教师在用户后台可以进行任务的发布,任务的人员的管理,可以对完成任务的学生进行评价打分,可以对未完成学生发送消息提醒,可以查看评价相关报表。
登录(教师)



1、打开电脑端钉钉,点击工作台;
2、进入工作台后找到【微官网】或【智慧校园】应用,点击进入用户后台;
3、进入用户后台后,点击德育管理后点击任务评价管理进入。
分类管理
用于设置任务类别,对任务进行归类管理,便于统计和查询,支持新增、修改、排序、导出。

新增分类
点击新建按钮,弹出新增页面,输入分类名称即可点击确认保存分类。

排序
用于分类顺序的调整,点击排序按钮后,拖动分类进行排序,调整完成后点击完成排序按钮。

启用/禁用
启用后,新建任务时可以选择该分类;
禁用后,新增任务时不能选择该分类。

编辑
修改分类名称:点击编辑按钮,弹出编辑页面,输入分类名称,完成点击确认完成修改。

删除
删除:点击删除,弹出确认,点击确定后删除分类。


注意:删除该分类时若是已有关联的任务,则不允许删除。
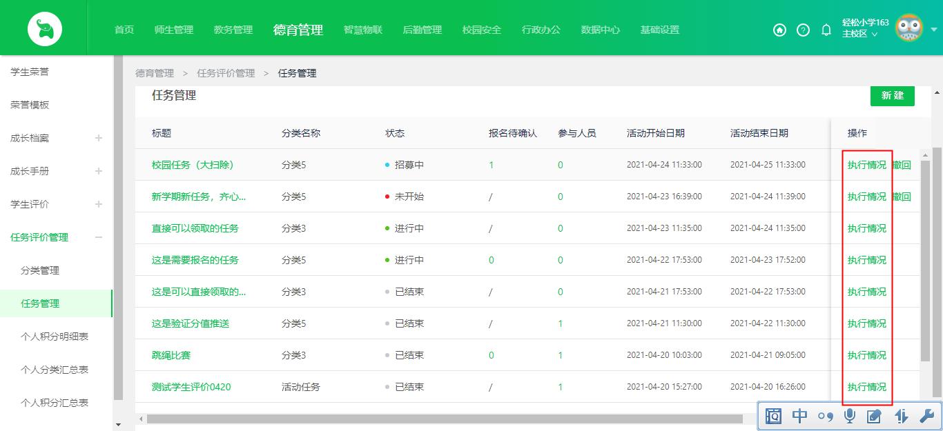
任务管理
该功能用于对已经创建的任务进行统一管理,教师可以对报名人员进行审核,也可以添加指定学生参加任务,还可以查看完成情况并对学生进行评价打分。

新建任务
在任务管理列表页面点击【新建按钮】弹出新增页面,填写任务信息,完成后点击立即发布,发布后会发送OA消息给学生家长,家长可以查看任务并为孩子进行(报名或领取任务),活动开始前可以撤销任务。


(带 * 字段为必填项目)
完成后立即发布即可,发布后学生家长会收到消息推送。

家长oa消息
撤回任务
活动开始前可以撤回任务,撤回后可以重新编辑、删除、发布。


报名审核
需要报名的任务,当学生报名后,教师需要对报名的学生进行审核,审核通过之后,学生才可以参与本次任务。


1、点击报名人数,打开报名人员
2、点击通过或驳回进行审核
注:审核后会向发送消息提醒
添加人员
教师可以添加指定的学生参与本次任务,教师添加人员不受人数、班级限制。



1、点击参与人员打开参与人员页面
2、点击添加人员打开学生页面
3、选择学生并确定完成添加
执行情况
查看所有学生任务完成的情况,对已经完成的学生可以进行评价打分。


提醒:发送消息通知学生尽快提交任务;
删除:未完成可以删除。


已完成的可以进行评价或退回让学生同学提交完成情况;
退回:退回后会向学生发送消息提醒,需要重新完成;
评价:点击评价,进行查看并评分。

添加人员:添加任务人员;
全部提醒:给未完成的学生批量发送消息提醒;
批量评价:批量进行评价。
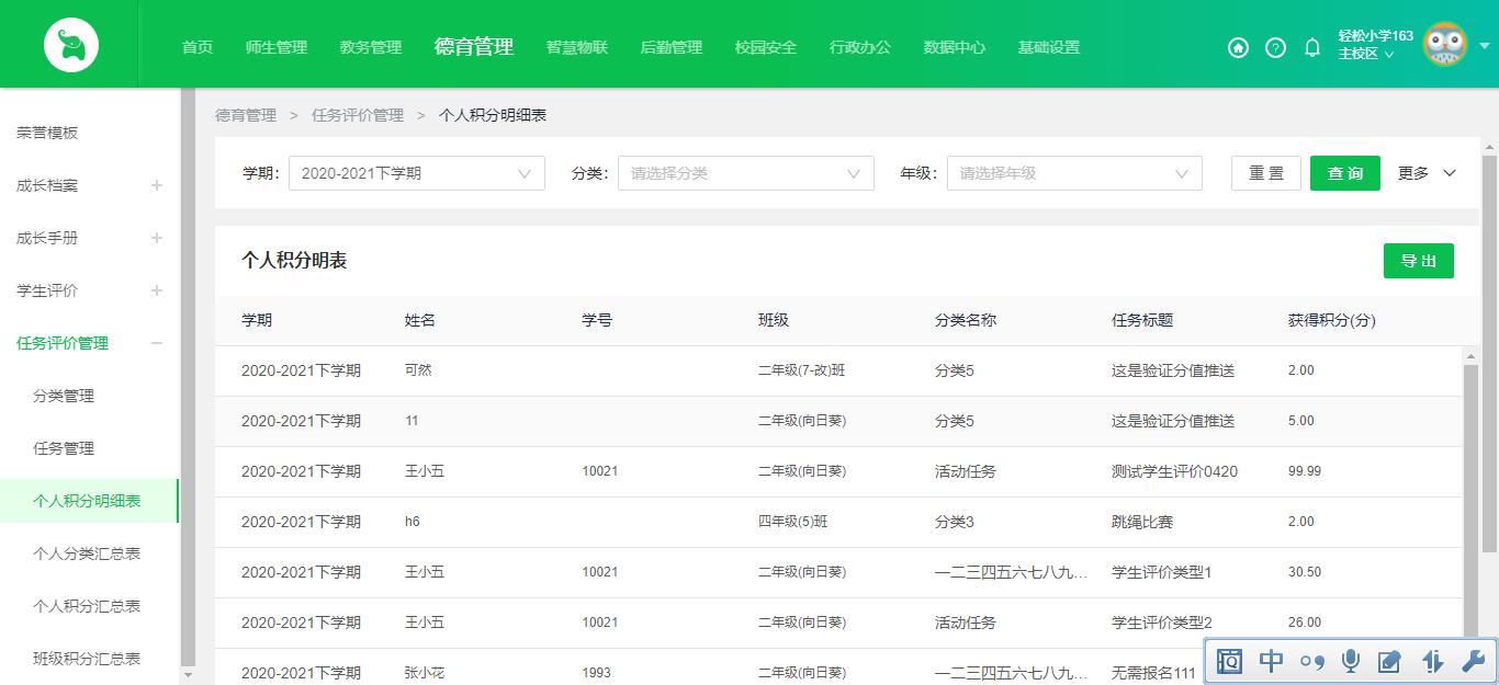
个人积分明细表
统计每个学生每次任务获得积分明细,支持查询、导出。

个人分类汇总表
统计么个学生一个学期每一个任务类型获得总积分,支持查询和导出。

个人积分汇总表
统计么个学生一个学期获得总积分,支持查询和导出。

班级积分汇总表
统计一个学期班级积分排名情况,支持查询和导出。

移动端
移动端登录(教师)



1、点击中间工作台;
2、选择有智慧校园或微官网应用的团队;
3、找到微官网或智慧校园应用,点击进入首页;
4、进入首页后点击全部;
5、找到项目评价点击进入。
新建任务
全部:所有老师发布的任务。
我的:我发布的任务。


1、点击新增页面进入编辑信息页面;
2、填写信息;
3、填写任务信息完成后进行点击发布,发布后家长会收到oa消息。

oa消息
撤回任务
自己发布的任务,在活动开始前可以撤回,撤回后可以从新编辑任务或删除任务,撤回后会向参与人员发送消息提醒。


1、找到需要撤回的任务,点击查看详情;
2、点击撤回任务完成撤回。
报名审核
任务报名开始后,发布任务的老师可以对已经报名的人员进行审核,审核通过后成为正式参与的人员。



1、找到任务点击进入详情页面;
2、点击报名人员进入已报名人员清单页面;
3、单同意/拒绝或批量同意/或拒绝,操作完成后会向对应的学生发现oa消息提醒。

消息提醒
增加人员
发布任务的老师可以添加指定学生参与任务,教师添加人员不受人数、班级限制。



1、找到任务点击进入详情;
2、点击增加人员前往选人;
3、勾选人员并点击确定完成添加,添加后会发送oa消息提醒。

oa消息提醒
完成情况
发布老师可以分别对未完成人员进行提醒或删除人员,对已完成人员进行评价打分或者退回任务。支持批量操作。


1、找到任务点击进入详情
2、点击完成情况进入完成明细页面
已完成/未完成


1、可以对已完成任务的人员进行评价或退回,退回后需要重新提交
2、可以对未完成任务的人员进行退出任务人员或提醒完成任务。
移动端登录(家长)



1、点击中间工作台;
2、选择有智慧校园或微官网应用的团队;
3、找到微官网或智慧校园应用,点击进入首页;
4、进入首页后找到任务广场,点击进入。
移动端报名或参与任务



学生家长代孩子报名或领取任务
1、进入任务广场,点击任务查看详情;
2、在详情页面进行报名任务或者参与任务,再次点击可以取消报名或取消参与任务。
注:报名任务需要教师审核,等待教师审批即可,参与任务不需要教师审核。
完成任务
进入【任务广场】在我的任务,可以查看我的任务,未完成的可以进行提交完成任务,已完成的任务可以查看评价。



1、任务广场应用里面点击我的;
2、找到未完成的任务,点击查看详情;
3、点击完成任务进入编辑页面;
4、填写完成情况并点击完成任务进行提交;
完成后在老师为评价之前是可以修改完成情况,再次进入即可修改。
班牌端
进入任务广场
任务广场:在班牌上点击底部任务中心即可进入,可以查看所有的任务。

报名任务或领取任务



1、找到任务并点击;
2、点击报名或领取任务,需要确认是否报名,点击确认报名需要进行身份校验;
3、学生刷卡或人脸进行校验,校验成功后完成报名或领取任务。
我的任务(学生)
学生在电子班牌上查看任务活动,可以领取任务或报名,可查看自己相关的任务、积分情况。




1、点击我的任务进行身份识别;
2、刷卡或刷脸识别身份,完成后进入我的任务;
3、点击任务可以查看详情。
消息通知(学生)
在我的任务里面点击通知按钮进入通知详情页面。


我的任务(教师)
教师在电子班牌上查看任务活动,自己发布的任务可以在班牌上进行报名审核,查看完成情况,对已经完成的人员进行评价打分。



1、点击我的任务;
2、教师刷卡或刷脸进行身份识别;
3、身份识别成功后进入我的任务。
报名审核(教师)
教师对已经报名的人员进行审核。


1、点击有报名人员任务;
2、点击学生头像或点击全选;
3、点击同意或拒绝,拒绝需要填写理由,填写后点击确认即可。
完成情况
教师可以查看任务完成的情况,对已经完成的学生可以进行评价或进行退回操作。


1、找到进行中或已经完成的任务,点击任务进入详情;
2、已完成点击头像可以查看完成详情,可以对其进行评价打分;
3、已评价点击头像可以详情完成情况和评分情况。

已完成教师可以进行评价、退回任务。
